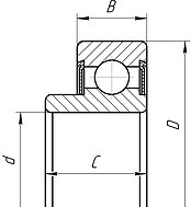
Die Rillenkugellager werden mit verschiedenen Varianten und Abmessungen hergestellt. In der Katalogtabelle sind die Grundbezeichnungen der Lager angegeben, die den internationalen GOST- und/oder ISO-Standards entsprechen. Ein nachfolgend angegebenes System von Suffixen wird verwendet, um verschiedene Typvarianten zu benennen.
Immer verfügbar: Rillenkugellager, Schrägkugellager, Axialkugellager, Riemenspannrollen.
Sie können unsere Service kontaktieren, um die Verfügbarkeit von bestimmten Typen zu ermitteln, zusätzliche Produktparameter zu erhalten, die nicht im Katalog enthalten sind, und Ihre spezifischen Anforderungen für die Lagerkonstruktion mit unseren Spezialisten besprechen.
Um die Kugellager zu einem günstigen Preis zu kaufen, kontaktieren Sie uns auf irgendeine Weise.
|
Grundbezeichnung |
Äußere Gestaltung (Z, ZZ, RS, 2RS, N) |
Käfig (ohne Suffix, M, Y, P) |
Genauigkeit; Innenluft (ohne Suffix, P6, C2, C3, C4) |
Schmierung (LT) |
|
ohne Suffix |
Stahlblechkäfig, auf Rollenführungen; Maß- und Laufgenauigkeit für normale Klasse; normaler Innenluft |
|
Z |
Stahlblechschild auf einer Seite |
|
ZZ |
Stahlblechschild auf beiden Seiten |
|
RS |
NRB Dichtung verstärkt mit der Stahlblecheinlage auf einer Seite |
|
2RS |
NRB Dichtung verstärkt mit der Stahlblecheinlage auf beiden Seiten |
|
N |
Rille am Außenring |
|
M |
Bearbeiteter Messingkäfig, auf Rollenführungen |
|
P |
Polymerkäfig |
|
Y |
Fenster-Messingkäfig, auf Rollenführungen |
|
P6 |
Maß- und Laufgenauigkeit für ISO Toleranzklasse 6 |
|
C2 |
Radialluft ist kleiner als normal |
|
C3 |
Radialluft ist größer als normal |
|
C4 |
Radialluft ist größer als C3 |
|
LT |
Tieftemperaturfett |
|
Bezeichnung |
Abmessungen |
Gewicht |
Tragfähigkeit |
Grenzdrehzahl (rpm) |
|||||
|
BBC-R |
GOST |
d |
D |
B |
kg |
Dynamisch |
Statisch |
Im Schmierstoff |
Im Öl |
|
604 |
14 |
4 | 12 | 4 |
0,002 |
0,83 |
0,3 |
45 000 |
55 000 |
|
605 |
15 |
5 | 14 | 5 |
0,003 |
1,4 |
0,6 |
42 000 |
48 000 |
|
606 |
16 |
6 |
17 |
6 |
0,005 |
2,3 |
0,9 |
38 000 |
45 000 |
|
607 |
17 |
7 |
19 |
6 |
0,0073 |
2,5 |
0,7 |
36 000 |
44 000 |
|
608 |
18 |
8 |
22 |
7 |
0,0118 |
2,7 |
0,9 |
3 4500 |
42 000 |
|
609 |
19 |
9 |
24 |
7 |
0,02 |
3 |
1,1 |
3 2500 |
39 500 |
|
624 |
24 |
4 |
13 |
5 |
0,0031 |
1,1 |
0,4 |
46 000 |
54 000 |
|
625 |
25 |
5 |
16 |
5 |
0,005 |
1,6 |
0,6 |
41 000 |
48 500 |
|
626 |
26 |
6 |
19 |
6 |
0,0082 |
2,5 |
1 |
35 000 |
41 500 |
|
627 |
27 |
9 |
26 |
8 |
0,019 |
3,3 |
1,4 |
33 500 |
39 500 |
|
628 |
28 |
8 |
24 |
8 |
0,0213 |
3,95 |
1,7 |
32 000 |
38 000 |
|
629 |
29 |
9 |
26 |
8 |
0,0195 |
4,6 |
2 |
30 500 |
36 000 |
|
6000 |
100 |
10 |
26 |
8 |
0,0195 |
4,6 |
2 |
27 500 |
33 500 |
|
6001 |
101 |
12 |
28 |
8 |
0,022 |
5,2 |
2,7 |
25 000 |
31 000 |
|
6002 |
102 |
15 |
32 |
9 |
0,0272 |
5,7 |
2,9 |
21 000 |
25 500 |
|
6003 |
103 |
17 |
35 |
10 |
0,04 |
6,1 |
3,3 |
19 500 |
24 000 |
|
6004 |
104 |
20 |
42 |
12 |
0,07 |
9,6 |
5 |
16 500 |
20 000 |
|
6005 |
105 |
25 |
47 |
12 |
0,08 |
10,7 |
6,1 |
13 500 |
17 000 |
|
6006 |
106 |
30 |
55 |
13 |
0,12 |
13,4 |
8,3 |
11 500 |
14 000 |
|
6007 |
107 |
35 |
62 |
14 |
0,15 |
16,3 |
10,3 |
10 300 |
12 300 |
|
6008 |
108 |
40 |
68 |
15 |
0,19 |
17,1 |
11,3 |
9 300 |
11 000 |
|
6009 |
109 |
45 |
75 |
16 |
0,24 |
21,4 |
15 |
8 350 |
10 000 |
|
6010 |
110 |
50 |
80 |
16 |
0,26 |
22,2 |
16,3 |
7 750 |
9 400 |
|
6011 |
111 |
55 |
90 |
18 |
0,38 |
29,4 |
21,5 |
6 900 |
8 400 |
| 6012 | 112 | 60 | 95 | 18 | 0,41 | 29,8 | 23,2 | 6 500 | 7 900 |
| 6013 | 113 | 65 | 100 | 18 | 0,44 | 31 | 25 | 6 200 | 7 500 |
| 6014 | 114 | 70 | 110 | 20 | 0,6 | 38,6 | 31 | 5 500 | 6 700 |
| 6015 | 115 | 75 | 115 | 20 | 0,64 | 40,3 | 33,4 | 5 200 | 6 400 |
| 6016 | 116 | 80 | 125 | 22 | 0,85 | 48,1 | 39,8 | 4 900 | 6 000 |
| 6017 | 117 | 85 | 130 | 22 | 0,89 | 50,4 | 42,9 | 4 600 | 5 600 |
| 6018 | 118 | 90 | 140 | 24 | 1,17 | 59 | 49,6 | 4 400 | 5 300 |
| 6019 | 119 | 95 | 145 | 24 | 1,22 | 61,5 | 54 | 4 100 | 5 000 |
| 6020 | 120 | 100 | 150 | 24 | 1,27 | 63,3 | 55,1 | 4 000 | 4 900 |
| 6021 | 121 | 105 | 160 | 26 | 1,59 | 73,4 | 65,7 | 3 800 | 4 600 |
| 6022 | 122 | 110 | 170 | 28 | 1,95 | 83,2 | 72,9 | 3 600 | 4 450 |
| 6024 | 124 | 120 | 180 | 28 | 2,1 | 86,1 | 79,5 | 3 300 | 4 000 |
| 6026 | 126 | 130 | 200 | 33 | 3,26 | 108 | 100,3 | 3 100 | 3 700 |
| 6028 | 128 | 140 | 210 | 33 | 3,39 | 110 | 107,7 | 2 900 | 3 500 |
| 6030 | 130 | 150 | 225 | 35 | 5,05 | 124,7 | 125 | 2 600 | 3 200 |
| 6032 | 132 | 160 | 240 | 38 | 6,4 | 141 | 140,7 | 2 500 | 3 000 |
| 6034 | 134 | 170 | 260 | 42 | 6,94 | 168 | 172 | 2 200 | 2 700 |
| 6036 | 136 | 180 | 280 | 46 | 11 | 188,7 | 198,7 | 2 100 | 2 600 |
| 6040 | 140 | 200 | 310 | 51 | 14,6 | 215,3 | 242,7 | 1 900 | 2 300 |
| 6048 | 148 | 240 | 360 | 56 | 22,400 | 251 | 305 | 1 700 | 2 000 |
| 6200 | 200 | 10 | 30 | 9 | 0,03 | 5,8 | 2,5 | 24 000 | 28 500 |
| 6201 | 201 | 12 | 32 | 10 | 0,0369 | 7 | 3,1 | 21 500 | 26 000 |
| 6202 | 202 | 15 | 35 | 11 | 0,046 | 7,8 | 3,7 | 19 500 | 23000 |
| 6203 | 203 | 17 | 40 | 12 | 0,07 | 9,7 | 4,8 | 17 000 | 20 000 |
| 6204 | 204 | 20 | 47 | 14 | 0,11 | 13 | 6,6 | 14 000 | 17 000 |
| 6205 | 205 | 25 | 52 | 15 | 0,13 | 14,3 | 7,9 | 12 300 | 14 500 |
| 6206 | 206 | 30 | 62 | 16 | 0,2 | 19,7 | 11,2 | 10 500 | 12 500 |
| 6207 | 207 | 35 | 72 | 17 | 0,28 | 26,1 | 15,3 | 9 150 | 10 500 |
| 6208 | 208 | 40 | 80 | 18 | 0,35 | 31,4 | 18,9 | 8 100 | 9 500 |
| 6209 | 209 | 45 | 85 | 19 | 0,4 | 33,1 | 20,9 | 7 500 | 8 800 |
| 6210 | 210 | 50 | 90 | 20 | 0,46 | 35,7 | 23,2 | 6 900 | 8 300 |
| 6211 | 211 | 55 | 100 | 21 | 0,6 | 44,4 | 29,1 | 6 400 | 7 600 |
| 6212 | 212 | 60 | 110 | 22 | 0,77 | 53,4 | 35,9 | 5 700 | 6 800 |
| 6213 | 213 | 65 | 120 | 23 | 1 | 57,6 | 40,2 | 5 200 | 6 200 |
| 6214 | 214 | 70 | 125 | 24 | 1,07 | 62,6 | 44,3 | 5 100 | 6 000 |
| 6215 | 215 | 75 | 130 | 25 | 1,18 | 67,4 | 48,8 | 4 800 | 5 800 |
| 6216 | 216 | 80 | 140 | 26 | 1,4 | 72,7 | 53,7 | 4 500 | 5 400 |
| 6217 | 217 | 85 | 150 | 28 | 1,8 | 84,8 | 63,2 | 4 100 | 4 900 |
| 6218 | 218 | 90 | 160 | 30 | 2,16 | 97,7 | 71,8 | 3 900 | 4 600 |
| 6219 | 219 | 95 | 170 | 32 | 2,61 | 110,3 | 81,5 | 3 700 | 4 400 |
| 6220 | 220 | 100 | 180 | 34 | 3,13 | 124 | 92,9 | 3 400 | 4 100 |
| 6221 | 221 | 105 | 190 | 36 | 3,74 | 135,3 | 104,3 | 3 200 | 3 900 |
| 6222 | 222 | 110 | 200 | 38 | 4,37 | 146,3 | 117,3 | 3 100 | 3 700 |
| 6224 | 224 | 120 | 215 | 40 | 5,15 | 149 | 119,3 | 2 900 | 3 400 |
| 6226 | 226 | 130 | 230 | 40 | 5,58 | 158,7 | 137 | 2 700 | 3 100 |
| 6228 | 228 | 140 | 250 | 42 | 8,09 | 169,3 | 155 | 2 400 | 2 900 |
| 6230 | 230 | 150 | 270 | 45 | 12,3 | 180 | 171,7 | 2 200 | 2 700 |
| 6232 | 232 | 160 | 290 | 48 | 15 | 196 | 197,3 | 2 100 | 2 500 |
| 6234 | 234 | 170 | 310 | 52 | 15 | 217,3 | 228,3 | 2 000 | 2 400 |
| 6236 | 236 | 180 | 320 | 52 | 16 | 232,3 | 248,3 | 1 900 | 2 200 |
| 6238 | 238 | 190 | 340 | 55 | 23,3 | 260,3 | 286,3 | 1 800 | 2 100 |
| 6244 | 244 | 220 | 400 | 65 | 32,4 | 303,5 | 370,5 | 1 500 | 1 800 |
| 6300 | 300 | 10 | 35 | 11 | 0,049 | 8,1 | 3,4 | 20 500 | 25 500 |
| 6301 | 301 | 12 | 37 | 12 | 0,0591 | 9,9 | 4,2 | 19 000 | 23 500 |
| 6302 | 302 | 15 | 42 | 13 | 0,085 | 11,5 | 5,4 | 16 500 | 20 000 |
| 6303 | 303 | 17 | 47 | 14 | 0,12 | 13,8 | 6,6 | 15 000 | 18 000 |
| 6304 | 304 | 20 | 52 | 15 | 0,15 | 16,2 | 7,8 | 13 000 | 16 000 |
| 6305 | 305 | 25 | 62 | 17 | 0,23 | 22,3 | 11,3 | 10 500 | 13 000 |
| 6306 | 306 | 30 | 72 | 19 | 0,33 | 29,1 | 15,8 | 9 400 | 11 000 |
| 6307 | 307 | 35 | 80 | 21 | 0,45 | 34 | 19,1 | 8 200 | 9 900 |
| 6308 | 308 | 40 | 90 | 23 | 0,63 | 41,2 | 24 | 7 400 | 8 800 |
| 6309 | 309 | 45 | 100 | 25 | 0,83 | 53,7 | 31,6 | 6 700 | 8 100 |
| 6310 | 310 | 50 | 110 | 27 | 1,06 | 62,9 | 37,9 | 5 900 | 7 200 |
| 6311 | 311 | 55 | 120 | 29 | 1,38 | 72 | 44,7 | 5 400 | 6 600 |
| 6312 | 312 | 60 | 130 | 31 | 1,72 | 82,9 | 52 | 5 000 | 6 100 |
| 6313 | 313 | 65 | 140 | 33 | 2,1 | 94,4 | 59,9 | 4 700 | 5 700 |
| 6314 | 314 | 70 | 150 | 35 | 2,54 | 106,3 | 66,4 | 4 400 | 5 300 |
| 6315 | 315 | 75 | 160 | 37 | 3,06 | 115,3 | 76,6 | 4 000 | 4 900 |
| 6316 | 316 | 80 | 170 | 39 | 3,63 | 125,3 | 86,2 | 3 800 | 4 600 |
| 6317 | 317 | 85 | 180 | 41 | 4,2 | 135,2 | 96,5 | 3 600 | 4 400 |
| 6318 | 318 | 90 | 190 | 43 | 4,95 | 146 | 107,7 | 3 400 | 4 100 |
| 6319 | 319 | 95 | 200 | 45 | 5,73 | 151,8 | 116,1 | 3 200 | 3 900 |
| 6320 | 320 | 100 | 25 | 47 | 7,07 | 170,7 | 138,7 | 3 000 | 3 700 |
| 6321 | 321 | 105 | 225 | 49 | 7,99 | 183,7 | 153 | 2 800 | 3 500 |
| 6322 | 322 | 110 | 240 | 50 | 9,59 | 198,7 | 174,3 | 2 700 | 3 200 |
| 6324 | 324 | 120 | 260 | 55 | 12,22 | 209,3 | 187,3 | 2 400 | 3 000 |
| 6326 | 326 | 130 | 280 | 58 | 15,2 | 228,7 | 215 | 2 300 | 2 700 |
| 6330 | 330 | 150 | 320 | 65 | 27,6 | 276,7 | 286,3 | 2 000 | 2 400 |
| 6403 | 403 | 17 | 62 | 17 | 0,27 | 22,5 | 10,8 | 12 300 | 14 500 |
| 6404 | 404 | 20 | 72 | 19 | 0,4 | 30,4 | 15,2 | 10 300 | 12 500 |
| 6405 | 405 | 25 | 80 | 21 | 0,53 | 35,9 | 19,3 | 9 000 | 11 000 |
| 6406 | 406 | 30 | 90 | 23 | 0,73 | 43,4 | 23,7 | 8 000 | 9 600 |
| 6407 | 407 | 35 | 100 | 25 | 0,95 | 55,2 | 31 | 7 100 | 8 600 |
| 6408 | 408 | 40 | 110 | 27 | 1,23 | 63,3 | 36,4 | 6 400 | 7 700 |
| 6409 | 409 | 45 | 120 | 29 | 1,54 | 76,5 | 44,9 | 5 8000 | 7 500 |
| 6410 | 410 | 50 | 130 | 31 | 1,89 | 87,2 | 52 | 5 400 | 6 500 |
| 6411 | 411 | 55 | 140 | 33 | 2,29 | 99,8 | 62 | 5 000 | 6 000 |
| 6412 | 412 | 60 | 150 | 35 | 2,76 | 107,3 | 69 | 4 400 | 5 300 |
| 6413 | 413 | 65 | 160 | 37 | 3,28 | 116,7 | 77,8 | 4 300 | 5 100 |
| 6414 | 414 | 70 | 180 | 42 | 4,85 | 143,3 | 103,7 | 3 900 | 4 600 |
| 6415 | 415 | 75 | 190 | 45 | 5,74 | 152,8 | 113,5 | 3 800 | 4 500 |
| 6416 | 416 | 80 | 200 | 48 | 6,72 | 163,2 | 125 | 3 400 | 4 100 |
| 6417 | 417 | 85 | 210 | 52 | 7,88 | 174 | 136,5 | 3 300 | 4 000 |
| 6418 | 418 | 90 | 225 | 54 | 11,4 | 189 | 154 | 3 200 | 3 800 |
| 685 | 1000085 | 5 | 11 | 3 | 0,001 | 0,65 | 0,27 | 45 000 | 53 000 |
| 688 | 1000088 | 8 | 16 | 4 | 0,003 | 1,4 | 0,6 | 37 000 | 43 000 |
| 695 | 1000095 | 5 | 13 | 4 | 0,003 | 1,1 | 0,5 | 42 000 | 49 000 |
| 696 | 1000096 | 6 | 15 | 5 | 0,004 | 1,4 | 0,6 | 39 000 | 46 000 |
| 697 | 1000097 | 7 | 17 | 5 | 0,005 | 1,7 | 0,8 | 37 000 | 43 000 |
| 698 | 1000098 | 8 | 19 | 6 | 0,008 | 2,2 | 0,9 | 35 000 | 41 000 |
| 699 | 1000099 | 9 | 20 | 6 | 0,007 | 2,5 | 1,12 | 34 000 | 40 000 |
| 61801 | 1000801 | 12 | 21 | 5 | 0,007 | 1,6 | 0,9 | 30 000 | 28 500 |
| 61805 | 1000805 | 25 | 37 | 7 | 0,022 | 4,3 | 3 | 16 000 | 19 500 |
| 61806 | 1000806 | 30 | 42 | 7 | 0,027 | 4,6 | 3,1 | 13 700 | 17 000 |
| 61807 | 1000807 | 35 | 47 | 7 | 0,031 | 4,7 | 3,5 | 12 000 | 15 200 |
| 61818 | 1000818 | 90 | 115 | 13 | 0,300 | 19,8 | 20,7 | 5 100 | 6 100 |
| 61822 | 1000822 | 110 | 140 | 16 | 0,600 | 28,9 | 28,2 | 4 100 | 4 900 |
| 61824 | 1000824 | 120 | 150 | 16 | 0,650 | 30,3 | 30 | 3 800 | 4 600 |
| 61900 | 1000900 | 10 | 22 | 6 | 0,009 | 2,5 | 1 | 32 500 | 39 000 |
| 61901 | 1000901 | 12 | 24 | 6 | 0,010 | 2,7 | 1,3 | 28 500 | 35 000 |
| 61902 | 1000902 | 15 | 28 | 7 | 0,017 | 4,2 | 2,2 | 23 500 | 29 000 |
| 61903 | 1000903 | 17 | 30 | 7 | 0,018 | 4,5 | 2,5 | 21 500 | 27 000 |
| 61904 | 1000904 | 20 | 37 | 9 | 0,035 | 6,4 | 3,7 | 17 700 | 21 200 |
| 61905 | 1000905 | 25 | 42 | 9 | 0,042 | 7 | 4,5 | 14 500 | 18 000 |
| 61906 | 1000906 | 30 | 47 | 9 | 0,049 | 7,2 | 4,6 | 12700 | 16 000 |
| 61907 | 1000907 | 35 | 55 | 10 | 0,090 | 10,5 | 7,1 | 10700 | 14 000 |
| 61908 | 1000908 | 40 | 62 | 12 | 0,110 | 13,2 | 9,2 | 6000 | 12 500 |
| 61909 | 1000909 | 45 | 68 | 12 | 0,150 | 13 | 11,9 | 9400 | 11 500 |
| 61910 | 1000910 | 50 | 72 | 12 | 0,180 | 13,2 | 12 | 8400 | 10 200 |
| 61911 | 1000911 | 55 | 80 | 13 | 0,190 | 15,4 | 14,7 | 7900 | 9 400 |
| 61912 | 1000912 | 60 | 85 | 13 | 0,260 | 15,7 | 15 | 7400 | 8 700 |
| 61913 | 1000913 | 65 | 90 | 13 | 0,300 | 16,9 | 16,5 | 6900 | 8 100 |
| 61914 | 1000914 | 70 | 100 | 16 | 0,320 | 23,7 | 20,2 | 6300 | 7 500 |
| 61915 | 1000915 | 75 | 105 | 16 | 0,380 | 24,2 | 23,1 | 5900 | 7 100 |
| 61916 | 1000916 | 80 | 110 | 16 | 0,430 | 24,7 | 24 | 5600 | 6 600 |
| 61917 | 1000917 | 85 | 120 | 18 | 0,700 | 30,8 | 31 | 5400 | 6 300 |
| 61918 | 1000918 | 90 | 125 | 18 | 0,730 | 32,4 | 32,2 | 3300 | 6 0000 |
| 61919 | 1000919 | 95 | 130 | 18 | 0,760 | 33,6 | 33,6 | 4800 | 5 7000 |
| 61920 | 1000920 | 100 | 140 | 20 | 1,020 | 42,1 | 42,1 | 4500 | 5 300 |
| 61921 | 1000921 | 105 | 145 | 20 | 1,050 | 44,3 | 44 | 4300 | 5 100 |
| 61922 | 1000922 | 110 | 150 | 20 | 1,100 | 44 | 44,3 | 4100 | 4 800 |
| 61924 | 1000924 | 120 | 165 | 22 | 1,400 | 56,1 | 56 | 3600 | 4 400 |
| 61926 | 1000926 | 130 | 180 | 24 | 1,900 | 66,1 | 66,1 | 3500 | 4 100 |
| 61928 | 1000928 | 140 | 190 | 24 | 2,100 | 68,8 | 69,3 | 3200 | 3 800 |
| 61930 | 1000930 | 150 | 210 | 28 | 3,500 | 88,4 | 93 | 2800 | 3 400 |
| 61932 | 1000932 | 160 | 220 | 28 | 3,700 | 92,3 | 98 | 2600 | 3 200 |
| 61934 | 1000934 | 170 | 230 | 28 | 3,029 | 93,6 | 106 | 2 400 | 3 000 |
| 61948 | 1000948 | 240 | 320 | 38 | 9,600 | 159 | 200 | 1 800 | 2 200 |
| 61964 | 1000964 | 320 | 440 | 56 | 27,000 | * | * | * | * |
| 16000 | 7000100 | 10 | 28 | 7 | 0,015 | 4,9 | 2,2 | 35 800 | 41 400 |
| 16001 | 7000101 | 12 | 28 | 7 | 0,018 | 5,2 | 2,6 | 27 500 | 33 000 |
| 16002 | 7000102 | 15 | 32 | 8 | 0,027 | 5,6 | 2,9 | 21 500 | 25 500 |
| 16003 | 7000103 | 17 | 35 | 8 | 0,032 | 6 | 3,3 | 20 00 | 24 000 |
| 16004 | 7000104 | 20 | 42 | 8 | 0,050 | 7,8 | 4,4 | 17 000 | 20 000 |
| 16005 | 7000105 | 25 | 47 | 8 | 0,053 | 8,4 | 5,1 | 14 000 | 17 000 |
| 16006 | 7000106 | 30 | 55 | 9 | 0,087 | 11,4 | 7,4 | 11 5000 | 14 000 |
| 16007 | 7000107 | 35 | 62 | 9 | 0,111 | 11,7 | 8,1 | 10 300 | 12 300 |
| 16008 | 7000108 | 40 | 68 | 9 | 0,125 | 132 | 10 | 9 600 | 11 000 |
| 16009 | 7000109 | 45 | 75 | 10 | 0,170 | 16 | 11,6 | 9 000 | 10 500 |
| 16010 | 7000110 | 50 | 80 | 10 | 0,190 | 16,3 | 12,5 | 8 000 | 9 500 |
| 16011 | 7000111 | 55 | 90 | 11 | 0,260 | 19,7 | 15,,5 | 7 200 | 8 500 |
| 16012 | 7000112 | 60 | 95 | 11 | 0,280 | 20,3 | 16,6 | 6 700 | 8 000 |
| 16013 | 7000113 | 65 | 100 | 11 | 0,300 | 21,8 | 19,4 | 6 300 | 7 500 |
| 16014 | 7000114 | 70 | 110 | 13 | 0,430 | 28,2 | 25 | 5 700 | 6 800 |
| 62200 2RS | 180500 | 10 | 30 | 14 | 0,048 | 5,4 | 2,4 | 14 600 | * |
| 62201 2RS | 180501 | 12 | 32 | 14 | 0,049 | 6,9 | 3,1 | 14 500 | * |
| 62202 2RS | 180502 | 15 | 35 | 14 | 0,055 | 7,7 | 3,7 | 12 500 | * |
| 62203 2RS | 180503 | 17 | 40 | 16 | 0,080 | 9,5 | 4,7 | 11 500 | * |
| 62204 2RS | 180504 | 20 | 47 | 18 | 0,140 | 12,8 | 6,6 | 9 700 | * |
| 62205 2RS | 180505 | 25 | 52 | 18 | 0,150 | 14 | 7,9 | 8 200 | * |
| 62206 2RS | 180506 | 30 | 62 | 20 | 0,300 | 19,5 | 11,2 | 7 200 | * |
| 62207 2RS | 180507 | 35 | 72 | 23 | 0,390 | 25,5 | 15,3 | 6 100 | * |
| 62208 2RS | 180508 | 40 | 80 | 23 | 0,450 | 30,1 | 18,6 | 5 400 | * |
| 62209 2RS | 180509 | 45 | 85 | 23 | 0,510 | 33 | 21,2 | 4 900 | * |
| 62210 2RS | 180510 | 50 | 90 | 23 | 0,540 | 35,1 | 23,2 | 4 600 | * |
| 62211 2RS | 180511 | 55 | 100 | 25 | 0,700 | 43,6 | 29 | 4 300 | * |
| 62212 2RS | 180512 | 60 | 110 | 28 | 0,870 | 52,7 | 36 | 4 000 | * |
| 62300 2RS | 180600 | 10 | 35 | 17 | 0,06 | 8,3 | 43,4 | 14 000 | * |
| 62301 2RS | 180601 | 12 | 37 | 17 | 0,07 | 9,7 | 4,2 | 13 000 | * |
| 62302 2RS | 180602 | 15 | 42 | 17 | 0,107 | 11,4 | 5,4 | 11 500 | * |
| 62303 2RS | 180603 | 17 | 47 | 19 | 0,150 | 13,5 | 6,6 | 10 200 | * |
| 62304 2RS | 180604 | 20 | 52 | 21 | 0,210 | 15,9 | 7,8 | 9 000 | * |
| 62305 2RS | 180605 | 25 | 62 | 24 | 0,240 | 22,4 | 11,5 | 7 300 | * |
| 62306 2RS | 180606 | 30 | 72 | 27 | 0,420 | 28,1 | 15,9 | 6 100 | * |
| 62307 2RS | 180607 | 35 | 80 | 31 | 0,530 | 33,3 | 19,1 | 5 600 | * |
| 62308 2RS | 180608 | 40 | 90 | 33 | 0,850 | 40,8 | 24 | 4 900 | * |
| 62309 2RS | 180609 | 45 | 100 | 36 | 1,100 | 52,7 | 31,5 | 4 500 | * |
| 62310 2RS | 180610 | 50 | 110 | 40 | 1,260 | 61,8 | 38 | 4 300 | * |
| 62311 2RS | 180611 | 55 | 120 | 43 | 1,500 | 71,5 | 45 | 3 800 | * |
| 62312 2RS | 180612 | 60 | 130 | 46 | 1,940 | 81,9 | 52 | 3 400 | * |
| 180703 | 180703 | 17 | 62 | 20 | 0,290 | * | * | * | * |
| 180706 | 180706 | 30 | 78 | 28 | 0,350 | * | * | * | * |
| 180707 | 180707 | 35 | 80 | 23 | 0,460 | * | * | * | * |
| 180712 | 180712 | 60 | 110 | 24 | 0,850 | * | * | * | * |
| 180902 | 180902 | 16 | 35 | 14 | 0,539 | * | * | * | * |
| 1180304 | 1180304 | 20 | 52 | 18 | 0,170 | * | * | * | * |
| 1180305 | 1180305 | 25 | 62 | 21 | 0,280 | * | * | * | * |
|
Bezeichnung |
Abmessungen |
Gewicht |
Tragfähigkeit |
Grenzdrehzahl (rpm) |
||||||||||
|
BBC-R |
GOST |
d |
d1 |
D |
B |
kg |
Dynamisch |
Statisch |
Im Schmierstoff |
Im Öl |
||||
| 380706 | 380706 | 35 | 30 | 85 | 23 | 0,711 | * | * | * | * | ||||
| 380707 | 380707 | 40 | 35 | 85 | 23 | 0,699 | * | * | * | * | ||||
| 380708 | 380708 | 45 | 40 | 85 | 23 | 0,723 | * | * | * | * | ||||
|
Bezeichnung |
Abmessungen |
Gewicht |
Tragfähigkeit |
Grenzdrehzahl (rpm) |
|||||
|
BBC-R |
GOST |
d |
D |
B |
kg |
Dynamisch |
Statisch |
Im Schmierstoff |
Im Öl |
| 580204 | 580204 | 20 | 47 | 14 | 0,106 | * | * | * | * |
| 580205 | 580205 | 25 | 52 | 15 | 0,123 | * | * | * | * |
| 580306 | 580306 | 30 | 72 | 19 | 0,349 | * | * | * | * |
| 1580205 | 1580205 | 25 | 52 | 16 | 0,140 | * | * | * | * |
| 1580206 | 1580206 | 30 | 62 | 18 | 0,224 | * | * | * | * |
| 1580207 | 1580207 | 35 | 72 | 20 | 0,313 | * | * | * | * |
| 1580209 | 1580209 | 45 | 85 | 21 | 0,452 | * | * | * | * |
| 1580211 | 1580211 | 55 | 100 | 23 | 0,650 | * | * | * | * |
|
Bezeichnung |
Abmessungen |
Gewicht |
Tragfähigkeit |
Grenzdrehzahl (rpm) |
||||||||||
|
BBC-R |
GOST |
d |
d1 |
D |
B |
C |
kg |
Dynamisch |
Statisch |
Im Schmierstoff |
Im Öl |
|||
| 680210 | 680210 | 55 | 50 | 100 | 25 | 45 | 1,156 | * | * | * | * | |||
| 680314 | 680314 | 75 | 70 | 150 | 39 | 78 | 3,870 | * | * | * | * | |||
| 1680204 | 1680204 | 25 | 20 | 52 | 16 | 18 | 0,231 | * | * | * | * | |||
| 1680205 | 1680205 | 30 | 25 | 62 | 18 | 20 | 0,340 | * | * | * | * | |||
| 1680206 | 1680206 | 35 | 30 | 72 | 20 | 22 | 0,481 | * | * | * | * | |||
| 1680207 | 1680207 | 40 | 35 | 80 | 21 | 23 | 0,617 | * | * | * | * | |||
| 1680208 | 1680208 | 45 | 40 | 85 | 21 | 23 | 0,655 | * | * | * | * | |||
|
Bezeichnung |
Abmessungen |
Gewicht |
Tragfähigkeit |
Grenzdrehzahl (rpm) |
||||||||
|
BBC-R |
GOST |
d |
D |
B |
kg |
Dynamisch |
Statisch |
Im Schmierstoff |
Im Öl |
|||
| 360708 | 360708 | 40 | 70 | 18 | 0,243 | * | * | * | * | |||
| 360710 | 360710 | 50 | 82 | 20 | 0,361 | * | * | * | * | |||
|
Bezeichnung |
Abmessungen |
Gewicht |
Tragfähigkeit |
Grenzdrehzahl (rpm) |
||||||||
|
BBC-R |
GOST |
d |
D |
B |
kg |
Dynamisch |
Statisch |
Im Schmierstoff |
Im Öl |
|||
| 520806 | 520806 | 31 | 55 | 13 | 19 | * | * | * | * | |||
|
Bezeichnung |
Abmessungen |
Gewicht |
Tragfähigkeit |
Grenzdrehzahl (rpm) |
||||||||||
|
BBC-R |
GOST |
d |
D |
B |
C |
kg |
Dynamisch |
Statisch |
Im Schmierstoff |
Im Öl |
||||
| 520806 | 520806 | 31 | 55 | 13 | 19 | 0,130 | * | * | * | * | ||||
|
Bezeichnung |
Abmessungen |
Gewicht |
Tragfähigkeit |
Grenzdrehzahl (rpm) |
|||||||||
|
BBC-R |
GOST |
d |
D |
B |
C |
kg |
Dynamisch |
Statisch |
Im Schmierstoff |
Im Öl |
|||
| 330802 | 330802 | 16 | 30 | 39 | 92 | 0,228 | * | * | * | * | |||
| 330902 | 330902 | 16 | 30 | 39 | 115 | 0,260 | * | * | * | * | |||
|
Grundbezeichnung |
Käfig (ohne Suffix, M, F) |
Genauigkeit; (ohne Suffix, P6) |
|
ohne Suffix |
Stahlblechkäfig, auf Rollenführungen; Maß- und Laufgenauigkeit für normale Klasse |
|
M |
Bearbeiteter Messingkäfig, auf Rollenführungen |
|
F |
Bearbeiteter Stahlkäfig, auf Rollenführungen |
|
P6 |
Maß- und Laufgenauigkeit für ISO Toleranzklasse 6 |
|
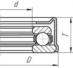
Bezeichnung |
Abmessungen |
Gewicht |
Tragfähigkeit |
Grenzdrehzahl (rpm) |
||||||||||
|
BBC-R |
GOST |
d |
d1 |
D |
D |
T |
kg |
Dynamisch |
Statisch |
Im Schmierstoff |
Im Öl |
|||
| 51100 | 8100 | 10 | 24 | 24 | 10,2 | 9 | 0,02 | 10,38 | 14,43 | 7900 | 10600 | |||
| 51101 | 8101 | 12 | 26 | 26 | 12,2 | 9 | 0,02 | 10,73 | 15,8 | 7500 | 10000 | |||
| 51102 | 8102 | 15 | 28 | 28 | 15,2 | 9 | 0,02 | 10,97 | 17,3 | 7100 | 9400 | |||
| 51103 | 8103 | 17 | 30 | 30 | 17,2 | 9 | 0,03 | 11,8 | 20,13 | 7100 | 9400 | |||
| 51104 | 8104 | 20 | 35 | 35 | 20,2 | 10 | 0,04 | 15,63 | 27,4 | 6300 | 8400 | |||
| 51105 | 8105 | 25 | 42 | 42 | 25,2 | 11 | 0,06 | 18,87 | 36,67 | 5300 | 7100 | |||
| 51106 | 8106 | 30 | 47 | 47 | 30,2 | 11 | 0,07 | 19,63 | 40,93 | 5000 | 6300 | |||
| 51107 | 8107 | 35 | 52 | 52 | 35,2 | 12 | 0,08 | 20,83 | 48,07 | 4700 | 6300 | |||
| 51108 | 8108 | 40 | 60 | 60 | 40,2 | 13 | 0,12 | 27,5 | 62,93 | 4200 | 5600 | |||
| 51109 | 8109 | 45 | 65 | 65 | 45,2 | 14 | 0,15 | 28,57 | 69,3 | 4000 | 5300 | |||
| 51110 | 8110 | 50 | 70 | 70 | 50,2 | 14 | 0,16 | 29,37 | 75,33 | 3800 | 5000 | |||
| 51111 | 8111 | 55 | 78 | 78 | 55,2 | 16 | 0,24 | 33,83 | 89,3 | 3300 | 4500 | |||
| 51112 | 8112 | 60 | 85 | 85 | 60,2 | 17 | 0,29 | 43,13 | 113 | 3200 | 4200 | |||
| 51113 | 8113 | 65 | 90 | 90 | 65,2 | 18 | 0,34 | 39,8 | 116 | 3000 | 3900 | |||
| 51114 | 8114 | 70 | 95 | 95 | 70,2 | 18 | 0,36 | 43,33 | 124,67 | 2800 | 3800 | |||
| 51115 | 8115 | 75 | 100 | 100 | 75,2 | 19 | 0,42 | 46,17 | 135,33 | 2700 | 3500 | |||
| 51116 | 8116 | 80 | 105 | 105 | 80,2 | 19 | 0,43 | 46,5 | 140,67 | 2700 | 3500 | |||
| 51117 | 8117 | 85 | 110 | 110 | 85,2 | 19 | 0,46 | 47,47 | 148,67 | 2700 | 3500 | |||
| 51118 | 8118 | 90 | 120 | 120 | 90,2 | 22 | 0,68 | 61,93 | 196 | 2000 | 2700 | |||
| 51120 | 8120 | 100 | 135 | 135 | 100,2 | 25 | 0,99 | 87 | 267 | 2000 | 2700 | |||
| 51122 | 8122 | 110 | 145 | 145 | 110,2 | 25 | 1,08 | 89,43 | 287 | 1900 | 2500 | |||
| 51124 | 8124 | 120 | 155 | 155 | 120,2 | 25 | 1,16 | 89,73 | 307 | 1600 | 2100 | |||
| 51126 | 8126 | 130 | 170 | 170 | 130,3 | 30 | 1,87 | 121,77 | 417,33 | 1400 | 1900 | |||
| 51128 | 8128 | 140 | 180 | 180 | 140,3 | 31 | 2,07 | 122,05 | 430,05 | 1300 | 1800 | |||
| 51130 | 8130 | 150 | 190 | 190 | 150,3 | 31 | 2,2 | 122,87 | 445,33 | 1300 | 1800 | |||
| 51132 | 8132 | 160 | 200 | 200 | 160,3 | 31 | 2,33 | 123,6 | 472,33 | 1300 | 1800 | |||
| 51134 | 8134 | 170 | 215 | 215 | 170,3 | 34 | 3,31 | 142,03 | 540,67 | 1200 | 1600 | |||
| 51136 | 8136 | 180 | 225 | 225 | 180,3 | 34 | 3,48 | 145,2 | 579,67 | 1100 | 1500 | |||
| 51140 | 8140 | 200 | 250 | 250 | 200,3 | 37 | 4,24 | 177,8 | 701 | 1000 | 1400 | |||
| 51144 | 8144 | 220 | 270 | 270 | 220,3 | 37 | 4,62 | 185,37 | 779,83 | 900 | 1300 | |||
| 51148 | 8148 | 240 | 300 | 300 | 240,3 | 45 | 7,55 | 248,37 | 1015 | 800 | 1100 | |||
| 51152 | 8152 | 260 | 320 | 320 | 260,3 | 45 | 8,11 | 249,2 | 1080 | 800 | 1100 | |||
| 51156 | 8156 | 280 | 350 | 350 | 280,3 | 53 | 12,2 | 316,77 | 1420 | 700 | 1000 | |||
| 51164 | 8164 | 320 | 400 | 400 | 320,4 | 63 | 18,9 | 368,6 | 1806,67 | 600 | 800 | |||
| 51172 | 8172 | 360 | 440 | 440 | 360,4 | 65 | 21,8 | 386,1 | 2020 | 500 | 700 | |||
| 51200 | 8200 | 10 | 26 | 26 | 10,2 | 11 | 0,03 | 12,67 | 15,33 | 6600 | 8700 | |||
| 51201 | 8201 | 12 | 28 | 28 | 12,2 | 11 | 0,03 | 13,23 | 17,37 | 6300 | 4400 | |||
| 51202 | 8202 | 15 | 32 | 32 | 15,2 | 12 | 0,05 | 16,3 | 24,6 | 6000 | 7900 | |||
| 51203 | 8203 | 17 | 35 | 35 | 17,2 | 12 | 0,05 | 16,77 | 26,73 | 5600 | 7500 | |||
| 51204 | 8204 | 20 | 40 | 40 | 20,2 | 14 | 0,08 | 22,67 | 37,63 | 5000 | 6700 | |||
| 51205 | 8205 | 25 | 47 | 47 | 25,2 | 15 | 0,12 | 28,3 | 50,33 | 4500 | 6000 | |||
| 51206 | 8206 | 30 | 52 | 52 | 30,2 | 16 | 0,14 | 30,3 | 55,8 | 4000 | 5300 | |||
| 51207 | 8207 | 35 | 62 | 62 | 35,2 | 18 | 0,22 | 38,67 | 76,63 | 3500 | 4700 | |||
| 51208 | 8208 | 40 | 68 | 68 | 40,2 | 19 | 0,27 | 45,53 | 93,77 | 3200 | 4200 | |||
| 51209 | 8209 | 45 | 73 | 73 | 45,2 | 20 | 0,32 | 47 | 98,83 | 4000 | 4000 | |||
| 51210 | 8210 | 50 | 78 | 78 | 50,2 | 22 | 0,39 | 49,5 | 112,67 | 3000 | 3800 | |||
| 51211 | 8211 | 55 | 90 | 90 | 55,2 | 25 | 0,61 | 67,17 | 150,67 | 2800 | 3300 | |||
| 51212 | 8212 | 60 | 95 | 95 | 60,2 | 26 | 0,69 | 73,6 | 160 | 2500 | 3000 | |||
| 51213 | 8213 | 65 | 100 | 100 | 65,2 | 27 | 0,77 | 76,4 | 176 | 2400 | 3200 | |||
| 51214 | 8214 | 70 | 105 | 105 | 70,2 | 27 | 0,81 | 76,9 | 186 | 2400 | 3000 | |||
| 51215 | 8215 | 75 | 110 | 110 | 75,2 | 27 | 0,86 | 81,2 | 196 | 2200 | 3000 | |||
| 51216 | 8216 | 80 | 115 | 115 | 80,2 | 28 | 0,95 | 86,4 | 215,33 | 2200 | 2700 | |||
| 51217 | 8217 | 85 | 125 | 125 | 85,2 | 31 | 1,29 | 99,27 | 267,67 | 2000 | 2700 | |||
| 51218 | 8218 | 90 | 135 | 135 | 90,2 | 35 | 1,77 | 121,33 | 290,67 | 2000 | 2100 | |||
| 51220 | 8220 | 100 | 150 | 150 | 100,2 | 38 | 2,36 | 135 | 331 | 1600 | 1900 | |||
| 51222 | 8222 | 110 | 160 | 160 | 110,2 | 38 | 2,57 | 142 | 372 | 1200 | 1700 | |||
| 51224 | 8224 | 120 | 170 | 170 | 120,2 | 39 | 2,86 | 147 | 404 | 1100 | 1600 | |||
| 51226 | 8226 | 130 | 190 | 190 | 130,2 | 45 | 4,19 | 185,27 | 554,13 | 1000 | 1500 | |||
| 51228 | 8228 | 140 | 200 | 200 | 140,3 | 46 | 4,88 | 207,33 | 595,33 | 1000 | 1400 | |||
| 51230 | 8230 | 150 | 215 | 215 | 150,3 | 50 | 6,19 | 252,6 | 790 | 900 | 1300 | |||
| 51236 | 8236 | 180 | 250 | 250 | 180,3 | 56 | 8,85 | 307,77 | 1050 | 800 | 1100 | |||
| 51240 | 8240 | 200 | 280 | 280 | 200,3 | 62 | 338 | 342,87 | 1223,33 | 700 | 1000 | |||
| 51244 | 8244 | 220 | 300 | 300 | 220,3 | 63 | 13,7 | 356,33 | 1303,33 | 600 | 900 | |||
| 51302 | 8302 | 15 | 37 | 37 | 15 | 15 | 0,08 | * | * | * | * | |||
| 51303 | 8303 | 17 | 40 | 40 | 17 | 16 | 0,1 | * | * | * | * | |||
| 51304 | 8304 | 20 | 47 | 47 | 20,2 | 18 | 0,16 | * | * | * | * | |||
| 51305 | 8305 | 25 | 52 | 52 | 25,2 | 18 | 0,18 | 36,37 | 61 | 3800 | 5000 | |||
| 51306 | 8306 | 30 | 60 | 60 | 30,2 | 21 | 0,27 | 41,1 | 74,3 | 3300 | 4500 | |||
| 51307 | 8307 | 35 | 68 | 68 | 35,2 | 24 | 0,39 | 54,57 | 102,17 | 2800 | 3800 | |||
| 51308 | 8308 | 40 | 78 | 78 | 40,2 | 26 | 0,55 | 68,2 | 130,67 | 2700 | 3500 | |||
| 51309 | 8309 | 45 | 85 | 85 | 45,2 | 28 | 0,69 | 81,1 | 160,33 | 2400 | 3200 | |||
| 51310 | 8310 | 50 | 95 | 95 | 50,2 | 31 | 1 | 88,83 | 162,33 | 2000 | 2700 | |||
| 51311 | 8311 | 55 | 105 | 105 | 55,2 | 35 | 1,34 | 114,2 | 238,67 | 1900 | 2500 | |||
| 51312 | 8312 | 60 | 110 | 110 | 60,2 | 35 | 1,43 | 116,73 | 254,67 | 1900 | 2500 | |||
| 51313 | 8313 | 65 | 115 | 115 | 65,2 | 36 | 1,57 | 121,1 | 271,33 | 1800 | 2400 | |||
| 51314 | 8314 | 70 | 125 | 125 | 70,2 | 40 | 2,06 | 142,8 | 320 | 1600 | 2000 | |||
| 51315 | 8315 | 75 | 135 | 135 | 75,2 | 44 | 2,68 | 173,07 | 360 | 1400 | 1900 | |||
| 51316 | 8316 | 80 | 140 | 140 | 80,2 | 44 | 2,82 | 166,33 | 380 | 1300 | 1800 | |||
| 51317 | 8317 | 85 | 150 | 150 | 85,2 | 49 | 3,66 | 197,17 | 449 | 1200 | 1700 | |||
| 51318 | 8318 | 90 | 155 | 155 | 90,2 | 50 | 3,88 | 204,53 | 487 | 1100 | 1500 | |||
| 51320 | 8320 | 100 | 170 | 170 | 100,2 | 55 | 6,11 | 240,03 | 586 | 1000 | 1400 | |||
| 51322 | 8322 | 110 | 190 | 190 | 110,2 | 63 | 7,87 | 293,43 | 780,67 | 900 | 1200 | |||
| 51324 | 8324 | 120 | 210 | 210 | 120,2 | 70 | 10,9 | 339,63 | 957,33 | 800 | 1100 | |||
| 51326 | 8326 | 130 | 225 | 225 | 130,3 | 75 | 13,3 | 358 | 1083,33 | 700 | 1000 | |||
| 51330 | 8330 | 150 | 250 | 250 | 150,3 | 80 | 16,7 | 418,23 | 1313,33 | 600 | 900 | |||
| 51336 | 8336 | 180 | 300 | 300 | 180,3 | 95 | 28,7 | 491,5 | 1790 | 500 | 700 | |||
| 51340 | 8340 | 200 | 340 | 340 | 200,3 | 110 | 43,7 | 566,67 | 2250 | 400 | 600 | |||
|
Bezeichnung |
Abmessungen |
Gewicht |
Tragfähigkeit |
Grenzdrehzahl (rpm) |
||||||||
|
BBC-R |
GOST |
d |
D |
T |
kg |
Dynamisch |
Statisch |
Im Schmierstoff |
Im Öl |
|||
| 98206 | 98206 | 30,1 | 53 | 16 | 0,13 | * | * | * | * | |||
| 9588213 | 9588213 | 65 | 100 | 21 | 0,62 | * | * | * | * | |||
| 9588214 | 9588214 | 70 | 105 | 21,5 | 0,65 | * | * | * | * | |||
| 9588217 | 9588217 | 85 | 125 | 24,5 | 0,86 | * | * | * | * | |||
| 688811 | 688811 | 55 | 90 | 21 | 0,41 | * | * | * | * | |||
| 688911 | 688911 | 52,388 | 84,5 | 20,7 | 0,37 | * | * | * | * | |||
|
Bezeichnung |
Abmessungen |
Gewicht |
Tragfähigkeit |
Grenzdrehzahl (rpm) |
||||||||||
|
BBC-R |
GOST |
d |
D |
D1 |
T |
kg |
Dynamisch |
Statisch |
Im Schmierstoff |
Im Öl |
||||
| 958705 | 958705 | 25 | 56 | 47 | 16 | 0,14 | * | * | * | * | ||||
|
Bezeichnung |
Abmessungen |
Gewicht |
Tragfähigkeit |
Grenzdrehzahl (rpm) |
|||||
|
BBC-R |
GOST |
d |
D |
B |
kg |
Dynamisch |
Statisch |
Im Schmierstoff |
Im Öl |
| 348702 | 348702 | 14,5 | 52 | 14 | 0,180 | * | * | * | * |
| QJ222 | 176222Л | 110 | 200 | 38 | 5,700 | * | * | * | * |
|
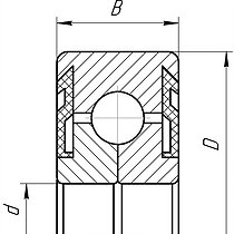
Grundbezeichnung |
Innere Gestaltung (AC, C, B) |
Käfig (ohne Suffix, M, Y, P) |
Genauigkeit (ohne Suffix, P6) |
|
ohne Suffix |
Stahlblechkäfig, auf Rollenführungen; Maß- und Laufgenauigkeit für normale Klasse |
|
AC |
Kontaktwinkel 250 |
|
C |
Kontaktwinkel 150 |
|
B |
Kontaktwinkel 400 |
|
M |
Bearbeiteter Messingkäfig, auf Rollenführungen |
|
P |
Polymerkäfig |
|
Y |
Messingblechkäfig, auf Rollenführungen |
|
P6 |
Maß- und Laufgenauigkeit für ISO Toleranzklasse 6 |
|
Bezeichnung |
Abmessungen |
Gewicht |
Tragfähigkeit |
Grenzdrehzahl (rpm) |
||||||
|
BBC-R |
GOST |
d |
D |
B |
kg |
Dynamisch |
Statisch |
Im Schmierstoff |
Im Öl |
|
| 7203 B | 66203 | 17 | 40 | 12 | 0,07 | 11 | 6 | 15300 | 18000 | |
| 7204 B | 66204 | 20 | 47 | 14 | 0,11 | 13 | 8 | 13800 | 16200 | |
| 7205 B | 66205 | 25 | 52 | 15 | 0,14 | 15 | 10 | 11500 | 13500 | |
| 7206 B | 66206 | 30 | 62 | 16 | 0,2 | 23 | 15 | 9900 | 11700 | |
| 7207 B | 66207 | 35 | 72 | 17 | 0,29 | 30 | 20 | 8400 | 9900 | |
| 7208 B | 66208 | 40 | 80 | 18 | 0,37 | 36 | 25 | 7700 | 9000 | |
| 7209 B | 66209 | 45 | 85 | 19 | 0,43 | 37 | 27 | 6900 | 8100 | |
| 7210 B | 66210 | 50 | 90 | 20 | 0,48 | 38 | 30 | 6500 | 7700 | |
| 7211 B | 66211 | 55 | 100 | 21 | 0,63 | 48 | 37 | 5700 | 6800 | |
| 7212 B | 66212 | 60 | 110 | 22 | 0,8 | 56 | 45 | 5400 | 6300 | |
| 7213 B | 66213 | 65 | 120 | 23 | 1 | 65 | 53 | 4800 | 5700 | |
| 7214 B | 66214 | 70 | 125 | 24 | 1,1 | 70 | 59 | 4600 | 5400 | |
| 7215 B | 66215 | 75 | 130 | 25 | 1,48 | 71 | 63 | 4300 | 5000 | |
| 7216 B | 66216 | 80 | 140 | 26 | 1,84 | * | * | * | * | |
| 7217 B | 66217 | 85 | 150 | 28 | 2,21 | 94 | 81 | 3800 | 4500 | |
| 7218 B | 66218 | 90 | 160 | 30 | 2,26 | 106 | 95 | 3400 | 4100 | |
| 7219 B | 66219 | 95 | 170 | 32 | 2,63 | 122 | 106 | 3300 | 3900 | |
| 7220 B | 66220 | 100 | 180 | 34 | 3,32 | 132 | 120 | 3100 | 3600 | |
| 7222 B | 66222 | 110 | 200 | 38 | 4,62 | 150 | 140 | 2900 | 3400 | |
| 7224 B | 66224 | 120 | 215 | 40 | 5,48 | 162 | 160 | 2800 | 3200 | |
| 7303 B | 66303 | 17 | 47 | 14 | 0,12 | 16 | 8 | 14500 | 17100 | |
| 7304 B | 66304 | 20 | 52 | 15 | 0,16 | 19 | 10 | 12200 | 14400 | |
| 7305 B | 66305 | 25 | 62 | 17 | 0,25 | 25 | 15 | 10700 | 12600 | |
| 7306 B | 66306 | 30 | 72 | 19 | 0,38 | 34 | 21 | 9200 | 10800 | |
| 7307 B | 66307 | 35 | 80 | 21 | 0,5 | 38 | 24 | 7700 | 9000 | |
| 7308 B | 66308 | 40 | 90 | 23 | 0,69 | 48 | 33 | 6900 | 8100 | |
| 7309 B | 66309 | 45 | 100 | 25 | 0,92 | 59 | 41 | 6100 | 7200 | |
| 7310 B | 66310 | 50 | 110 | 27 | 1,2 | 73 | 50 | 5700 | 6800 | |
| 7311 B | 66311 | 55 | 120 | 29 | 1,55 | 84 | 59 | 5100 | 6000 | |
| 7312 B | 66312 | 60 | 130 | 31 | 1,94 | 94 | 68 | 4600 | 5400 | |
| 7313 B | 66313 | 65 | 140 | 33 | 2,38 | 106 | 78 | 4300 | 5000 | |
| 7314 B | 66314 | 70 | 150 | 35 | 2,89 | 117 | 88 | 4100 | 4800 | |
| 7315 B | 66315 | 75 | 160 | 37 | 3,47 | 123 | 96 | 3800 | 4500 | |
| 7316 B | 66316 | 80 | 170 | 39 | 4,12 | 140 | 116 | 3400 | 4100 | |
| 7317 B | 66317 | 85 | 180 | 41 | 4,84 | 143 | 110 | 3300 | 3900 | |
| 7318 B | 66318 | 90 | 190 | 43 | 5,65 | 153 | 131 | 3100 | 3600 | |
| 7319 B | 66319 | 95 | 200 | 45 | 6,25 | 165 | 147 | 2900 | 3400 | |
| 7320 B | 66320 | 100 | 215 | 47 | 8,04 | 199 | 186 | 2800 | 3200 | |
| 7322 B | 66322 | 110 | 240 | 50 | 10,8 | 221 | 220 | 2400 | 2900 | |
| 7330 B | 66330 | 150 | 320 | 65 | 24,4 | 302 | 300 | 1700 | 2200 | |
| 7405 B | 66405 | 25 | 80 | 21 | 0,5 | 40 | 22 | 7000 | 10000 | |
| 7406 B | 66406 | 30 | 90 | 23 | 0,77 | 44 | 28 | 5000 | 6700 | |
| 7407 B | 66407 | 35 | 100 | 25 | 1,05 | 45 | 34 | 5000 | 6300 | |
| 7408 B | 66408 | 40 | 110 | 27 | 1,37 | 72 | 42 | 5100 | 7000 | |
| 7409 B | 66409 | 45 | 120 | 29 | 1,75 | 82 | 47 | 4000 | 5300 | |
| 7410 B | 66410 | 50 | 130 | 31 | 2,17 | 99 | 60 | 2800 | 3400 | |
| 7411 B | 66411 | 55 | 140 | 33 | 2,3 | * | * | * | * | |
| 7412 B | 66412 | 60 | 150 | 35 | 3,37 | 125 | 80 | 4300 | 5600 | |
| 7413 B | 66413 | 65 | 160 | 37 | 3,4 | * | * | * | * | |
| 7414 B | 66414 | 70 | 180 | 42 | 5,74 | 152 | 109 | 3100 | 3800 | |
| 7415 B | 66415 | 75 | 190 | 45 | 5,9 | * | * | * | * | |
| 7416 B | 66414 | 80 | 200 | 48 | 7,25 | 196 | 160 | 2600 | 3400 | |
| 7417 B | 66417 | 85 | 210 | 52 | 8 | * | * | * | * | |
| 7418 B | 66418 | 90 | 225 | 54 | 12 | 221 | 187 | 2400 | 3200 | |
| 7432 B | 66432 | 160 | 400 | 88 | 59,8 | * | * | * | * | |
| 7003 C | 36103 | 17 | 35 | 10 | 0,04 | 6 | 4 | 45000 | 67000 | |
| 7004 C | 36104 | 20 | 42 | 12 | 0,07 | 8 | 5 | 36000 | 53000 | |
| 7005 C | 36105 | 25 | 47 | 12 | 0,08 | 10 | 7 | 30000 | 45000 | |
| 7006 C | 36106 | 30 | 55 | 13 | 0,12 | 12 | 9 | 26000 | 40000 | |
| 7007 C | 36107 | 35 | 62 | 14 | 0,16 | 14 | 11 | 22000 | 36000 | |
| 7008 C | 36108 | 40 | 68 | 15 | 0,2 | 21 | 16 | 20000 | 34000 | |
| 7009 C | 36109 | 45 | 75 | 16 | 0,25 | 15 | 13 | 18000 | 30000 | |
| 7010 C | 36110 | 50 | 80 | 16 | 0,27 | 39 | 21 | 17000 | 28000 | |
| 7011 C | 36111 | 55 | 90 | 18 | 0,4 | * | * | * | * | |
| 7012 C | 36112 | 60 | 95 | 18 | 0,42 | 39 | 33 | 14000 | 22000 | |
| 7013 C | 36113 | 65 | 100 | 18 | 0,45 | * | * | * | * | |
| 7014 C | 36114 | 70 | 110 | 20 | 0,62 | 46 | 42 | 12000 | 19000 | |
| 7015 C | 36115 | 75 | 115 | 20 | 0,66 | * | * | * | * | |
| 7016 C | 36116 | 80 | 125 | 22 | 0,88 | 59 | 55 | 11000 | 18000 | |
| 7017 C | 36117 | 85 | 130 | 22 | 0,92 | 57 | 56 | 10000 | 17000 | |
| 7018 C | 36118 | 90 | 140 | 24 | 1,19 | * | * | * | * | |
| 7020 C | 36120 | 100 | 150 | 24 | 1,29 | * | * | * | * | |
| 7022 C | 36122 | 110 | 170 | 28 | 2,02 | * | * | * | * | |
| 7203 C | 36203 | 17 | 40 | 12 | 0,07 | 10 | 6 | 38000 | 56000 | |
| 7204 C | 36204 | 20 | 47 | 14 | 0,11 | 10 | 7 | 32000 | 48000 | |
| 7205 C | 36205 | 25 | 52 | 15 | 0,14 | 16 | 9 | 28000 | 43000 | |
| 7206 C | 36206 | 30 | 62 | 16 | 0,2 | 14 | 12 | 24000 | 38000 | |
| 7207 C | 36207 | 35 | 72 | 17 | 0,29 | 29 | 18 | 20000 | 34000 | |
| 7208 C | 36208 | 40 | 80 | 18 | 0,37 | 27 | 20 | 18000 | 30000 | |
| 7209 C | 36209 | 45 | 85 | 19 | 0,43 | 29 | 23 | 17000 | 28000 | |
| 7210 C | 36210 | 50 | 90 | 20 | 0,48 | 29 | 23 | 16000 | 26000 | |
| 7211 C | 36211 | 55 | 100 | 21 | 0,63 | 35 | 31 | 14000 | 22000 | |
| 7212 C | 36212 | 60 | 110 | 22 | 0,8 | 64 | 49 | 13000 | 20000 | |
| 7214 C | 36214 | 70 | 125 | 24 | 1,1 | 77 | 60 | 11000 | 18000 | |
| 7216 C | 36216 | 80 | 140 | 26 | 1,84 | * | * | * | * | |
| 7217 C | 36217 | 85 | 150 | 28 | 2,2 | * | * | * | * | |
| 7218 C | 36218 | 90 | 160 | 30 | 2,21 | * | * | * | * | |
| 7219 C | 36219 | 95 | 170 | 32 | 2,63 | 122 | 108 | 7000 | 11000 | |
| 7220 C | 36220 | 100 | 180 | 34 | 3,32 | * | * | * | * | |
| 7318 C | 36318 | 90 | 190 | 43 | 5,65 | * | * | * | * | |
| 7003 AC | 46103 | 17 | 35 | 10 | 0,04 | * | * | * | * | |
| 7004 AC | 46104 | 20 | 42 | 12 | 0,07 | * | * | * | * | |
| 7005 AC | 46105 | 25 | 47 | 12 | 0,08 | * | * | * | * | |
| 7006 AC | 46106 | 30 | 55 | 13 | 0,12 | * | * | * | * | |
| 7007 AC | 46107 | 35 | 62 | 14 | 0,16 | * | * | * | * | |
| 7008 AC | 46108 | 40 | 68 | 15 | 0,2 | * | * | * | * | |
| 7009 AC | 46109 | 45 | 75 | 16 | 0,25 | * | * | * | * | |
| 7010 AC | 46110 | 50 | 80 | 16 | 0,27 | * | * | * | * | |
| 7011 AC | 46111 | 55 | 90 | 18 | 0,4 | * | * | * | * | |
| 7012 AC | 46112 | 60 | 95 | 18 | 0,42 | 37 | 31 | 13000 | 20000 | |
| 7013 AC | 46113 | 65 | 100 | 18 | 0,45 | * | * | * | * | |
| 7014 AC | 46114 | 70 | 110 | 20 | 0,62 | * | * | * | * | |
| 7015 AC | 46115 | 75 | 115 | 20 | 0,66 | * | * | * | * | |
| 7016 AC | 46116 | 80 | 125 | 22 | 0,88 | * | * | * | * | |
| 7017 AC | 46117 | 85 | 130 | 22 | 0,92 | * | * | * | * | |
| 7018 AC | 46118 | 90 | 140 | 24 | 1,19 | * | * | * | * | |
| 7020 AC | 46120 | 100 | 150 | 24 | 1,29 | * | * | * | * | |
| 7022 AC | 46122 | 110 | 170 | 28 | 2,02 | * | * | * | * | |
| 7024 AC | 46124 | 120 | 180 | 28 | 2,17 | 98 | 104 | 6300 | 9500 | |
| 7026 AC | 46126 | 130 | 200 | 33 | 3,28 | 125 | 137 | 5600 | 8500 | |
| 7028 AC | 46128 | 140 | 210 | 33 | 3,48 | * | * | * | * | |
| 7202 AC | 46202 | 15 | 35 | 11 | 0,05 | * | * | * | * | |
| 7203 AC | 46203 | 17 | 40 | 12 | 0,07 | 10 | 6 | 15000 | 20000 | |
| 7204 AC | 46204 | 20 | 47 | 14 | 0,11 | * | * | * | * | |
| 7205 AC | 46205 | 25 | 52 | 15 | 0,14 | * | * | * | * | |
| 7206 AC | 46206 | 30 | 62 | 16 | 0,2 | * | * | * | * | |
| 7207 AC | 46207 | 35 | 72 | 17 | 0,29 | 29 | 19 | 19000 | 32000 | |
| 7208 AC | 46208 | 40 | 80 | 18 | 0,37 | * | * | * | * | |
| 7209 AC | 46209 | 45 | 85 | 19 | 0,43 | * | * | * | * | |
| 7210 AC | 46210 | 50 | 90 | 20 | 0,48 | * | * | * | * | |
| 7211 AC | 46211 | 55 | 100 | 21 | 0,63 | * | * | * | * | |
| 7212 AC | 46212 | 60 | 110 | 22 | 0,8 | 61 | 48 | 12000 | 19000 | |
| 7213 AC | 46213 | 65 | 120 | 23 | 1 | * | * | * | * | |
| 7214 AC | 46214 | 70 | 125 | 24 | 1,1 | 72 | 57 | 10000 | 17000 | |
| 7215 AC | 46215 | 75 | 130 | 25 | 1,48 | 99 | 65 | 9500 | 16000 | |
| 7216 AC | 46216 | 80 | 140 | 26 | 1,84 | * | * | * | * | |
| 7217 AC | 46217 | 85 | 150 | 28 | 2,21 | 90 | 80 | 3400 | 4500 | |
| 7218 AC | 46218 | 90 | 160 | 30 | 2,26 | 106 | 93 | 3200 | 4300 | |
| 7220 AC | 46220 | 100 | 180 | 34 | 3,32 | * | * | * | * | |
| 7222 AC | 46222 | 110 | 200 | 38 | 4,62 | * | * | * | * | |
| 7224 AC | 46224 | 120 | 215 | 40 | 5,48 | * | * | * | * | |
| 7230 AC | 46230 | 150 | 270 | 45 | 9,7 | * | * | * | * | |
| 7234 AC | 46234 | 170 | 310 | 52 | 19,3 | 303 | 300 | 1800 | 2600 | |
| 7303 AC | 46303 | 17 | 47 | 14 | 0,12 | * | * | * | * | |
| 7304 AC | 46304 | 20 | 52 | 15 | 0,16 | * | * | * | * | |
| 7305 AC | 46305 | 25 | 62 | 17 | 0,25 | * | * | * | * | |
| 7306 AC | 46306 | 30 | 72 | 19 | 0,38 | * | * | * | * | |
| 7307 AC | 46307 | 35 | 80 | 21 | 0,51 | 27 | 18 | 8000 | 11000 | |
| 7308 AC | 46308 | 40 | 90 | 23 | 0,7 | 32 | 23 | 7000 | 9500 | |
| 7309 AC | 46309 | 45 | 100 | 25 | 0,93 | 60 | 40 | 5600 | 7500 | |
| 7310 AC | 46310 | 50 | 110 | 27 | 1,2 | * | * | * | * | |
| 7311 AC | 46311 | 55 | 120 | 29 | 1,55 | * | * | * | * | |
| 7312 AC | 46312 | 60 | 130 | 31 | 1,94 | * | * | * | * | |
| 7313 AC | 46313 | 65 | 140 | 33 | 2,38 | * | * | * | * | |
| 7314 AC | 46314 | 70 | 150 | 35 | 2,89 | * | * | * | * | |
| 7315 AC | 46315 | 75 | 160 | 37 | 3,47 | * | * | * | * | |
| 7316 AC | 46316 | 80 | 170 | 39 | 4,12 | 161 | 116 | 3200 | * | |
| 7317 AC | 46317 | 85 | 180 | 41 | 4,84 | * | * | * | * | |
| 7318 AC | 46318 | 90 | 190 | 43 | 5,65 | * | * | * | * | |
| 7319 AC | 46319 | 95 | 200 | 45 | 6,25 | * | * | * | * | |
| 7320 AC | 46320 | 100 | 215 | 47 | 8,04 | * | * | * | * | |
| 7324 AC | 46324 | 120 | 260 | 55 | 13,7 | * | * | * | * | |
| 7330 AC | 46330 | 150 | 320 | 65 | 24,4 | 325 | 390 | 1700 | 2400 | |
| 7416 AC | 46416 | 80 | 200 | 48 | 7,25 | * | * | * | * | |
| 7418 AC | 46418 | 90 | 190 | 43 | 12 | 208 | 162 | 2600 | 3600 | |
|
Bezeichnung |
Abmessungen |
Gewicht |
Tragfähigkeit |
Grenzdrehzahl (rpm) |
|||||
|
BBC-R |
GOST |
d |
D |
B |
kg |
Dynamisch |
Statisch |
Im Schmierstoff |
Im Öl |
| 3201 | 3056201 | 12 | 32 | 15,9 | 0,05 | 10 | 5 | 16800 | 19800 |
| 3202 | 3056202 | 15 | 35 | 15,9 | 0,06 | 12 | 7 | 13800 | 16200 |
| 3203 | 3056203 | 17 | 40 | 17,5 | 0,1 | 14 | 9 | 12200 | 14400 |
| 3204 | 3056204 | 20 | 47 | 20,6 | 0,17 | 20 | 12 | 10700 | 12600 |
| 3205 | 3056205 | 25 | 52 | 20,6 | 0,19 | 21 | 14 | 9200 | 10800 |
| 3206 | 3056206 | 30 | 62 | 23,8 | 0,31 | 29 | 20 | 7700 | 9000 |
| 3207 | 3056207 | 35 | 72 | 27 | 0,48 | 39 | 27 | 6900 | 8100 |
| 3208 | 3056208 | 40 | 80 | 30,2 | 0,65 | 47 | 33 | 6100 | 7200 |
| 3209 | 3056209 | 45 | 85 | 30,2 | 0,7 | 50 | 38 | 5700 | 6800 |
| 3210 | 3056210 | 50 | 90 | 30,2 | 0,74 | 50 | 38 | 5400 | 6300 |
| 3211 | 3056211 | 55 | 100 | 33,3 | 1,05 | 59 | 47 | 4800 | 5700 |
| 3212 | 3056212 | 60 | 110 | 36,5 | 1,36 | 72 | 57 | 4300 | 5000 |
| 3213 | 3056213 | 65 | 120 | 38,1 | 1,76 | 79 | 72 | 3700 | 4300 |
| 3214 | 3056214 | 70 | 125 | 39,7 | 1,93 | 87 | 78 | 3400 | 4100 |
| 3215 | 3056215 | 75 | 130 | 41,3 | 2,08 | 94 | 86 | 3400 | 4100 |
| 3216 | 3056216 | 80 | 140 | 44,4 | 2,64 | 104 | 93 | 3300 | 3900 |
| 3217 | 3056217 | 85 | 150 | 49,2 | 3,39 | 122 | 108 | 2900 | 3400 |
| 3218 | 3056218 | 90 | 160 | 52,4 | 4,14 | 127 | 118 | 2800 | 3200 |
| 3219 | 3056219 | 95 | 170 | 55,6 | 5 | 156 | 143 | 2600 | 3100 |
| 3220 | 3056220 | 100 | 180 | 60,3 | 5,4 | 157 | 173 | 2300 | 2800 |
| 3222 | 3056222 | 110 | 200 | 69,8 | 8,79 | 208 | 208 | 2100 | 2500 |
| 3301 | 3056301 | 12 | 37 | 19 | 0,09 | * | * | * | * |
| 3302 | 3056302 | 15 | 42 | 19 | 0,13 | * | * | * | * |
| 3303 | 3056303 | 17 | 47 | 22,2 | 0,19 | 21 | 12 | 10700 | 12600 |
| 3304 | 3056304 | 20 | 52 | 22,2 | 0,23 | 23 | 14 | 9900 | 11700 |
| 3305 | 3056305 | 25 | 62 | 25,4 | 0,37 | 31 | 20 | 8400 | 9900 |
| 3306 | 3056306 | 30 | 72 | 30,2 | 0,58 | 41 | 27 | 6900 | 8100 |
| 3307 | 3056307 | 35 | 80 | 34,9 | 0,78 | 51 | 35 | 6500 | 7700 |
| 3308 | 3056308 | 40 | 90 | 36,5 | 1,05 | 63 | 43 | 5700 | 6800 |
| 3309 | 3056309 | 45 | 100 | 39,7 | 1,41 | 74 | 52 | 5100 | 6000 |
| 3310 | 3056310 | 50 | 110 | 44,4 | 1,9 | 88 | 63 | 4600 | 5400 |
| 3311 | 3056311 | 55 | 120 | 49,2 | 2,48 | 110 | 80 | 4100 | 4800 |
| 3312 | 3056312 | 60 | 130 | 54 | 3,17 | 125 | 93 | 3800 | 4500 |
| 3313 | 3086313 | 65 | 140 | 58,7 | 3,9 | 143 | 108 | 3400 | 4100 |
| 3314 | 3056314 | 70 | 150 | 63,5 | 5,04 | 160 | 123 | 3300 | 3900 |
| 3315 | 3056315 | 75 | 160 | 68,3 | 6,16 | 173 | 137 | 3100 | 3600 |
| 3316 | 3056316 | 80 | 170 | 68,3 | 6,93 | 178 | 153 | 2800 | 3200 |
| 3317 | 3056317 | 85 | 180 | 73 | 8,3 | 191 | 172 | 2600 | 3100 |
| 3318 | 3056318 | 90 | 190 | 73 | 9,23 | 191 | 176 | 2400 | 2900 |
| 3319 | 3056319 | 95 | 200 | 77,8 | 11,4 | 221 | 212 | 2300 | 2700 |
| 3320 | 3056320 | 100 | 215 | 82,6 | 14,2 | 157 | 173 | 2300 | 2800 |
| 3321 | 3056321 | 105 | 225 | 87,3 | 16,4 | 252 | 290 | 2300 | 2700 |
| 3322 | 3056322 | 110 | 240 | 92,1 | 19,9 | 208 | 208 | 2100 | 2500 |
|
Bezeichnung |
Abmessungen |
Gewicht |
Tragfähigkeit |
Grenzdrehzahl (rpm) |
||||||||
|
BBC-R |
GOST |
d |
D |
B |
kg |
Dynamisch |
Statisch |
Im Schmierstoff |
Im Öl |
|||
| 256907 | 256907 | 34 | 64 | 37 | 0,44 | * | * | * | * | |||
More than 200 units of modern high-precision equipment have been installed in production workshops.
The quality management system extends to the development, production and supply of bearing products to consumers.
An integrated system for the efficient use of vehicles and warehouses ensures maximum delivery speed.
The company employees have a great experience in the bearing industry. Many of them worked in the leading bearing companies.
Each batch of components for the production of bearings passes input control according to the drawings.
The company is trying to minimize its impact on the environment and the use of harmful chemicals.