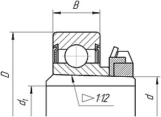
Łożyska kulkowe zwykłe produkowane są w różnych wariantach i wymiarach. W tabeli katalogowej podano podstawowe oznaczenia łożysk zgodne z międzynarodowymi normami GOST i/lub ISO. Przedstawiony poniżej system przyrostków jest stosowany do oznakowania opcji różnych typów łożysk.
Zawsze dostępne: łożyska kulkowe poprzeczne, łożyska kulkowe skośne, łożyska kulkowe wzdłużne, rolki napinacza pasa.
Mogą Państwo skontaktować się z naszym Działem Obsługi Klienta w celu ustalenia dostępności konkretnych typów, uzyskania dodatkowych parametrów produktu, które nie zostały uwzględnione w katalogu oraz omówienia z naszymi specjalistami Twoich specyficznych wymagań dotyczących konstrukcji łożysk.
Aby kupić łożyska kulkowe w niskiej cenie, skontaktuj się z nami w dowolny sposób.
|
Oznaczenie podstawowe |
Konstrukcja zewnętrzna (Z, ZZ, RS, 2RS, N) |
Koszyk (bez przyrostka, M, Y, P) |
Dokładność; luz wewnętrzny (bez przyrostka, P6, C2, C3, C4) |
Smarowanie (LT) |
|
bez przyrostka |
koszyk ze stali tłoczonej, centrowany kulkowo; dokładność wymiarowa i ruchowa w klasie normalnej; normalny luz wewnętrzny |
|
Z |
jednostronnie wytłaczana osłona z blachy stalowej |
|
ZZ |
obustronnie wytłaczana osłona z blachy stalowej |
|
RS |
Uszczelka NRB wzmocniona z jednej strony wkładką z blachy stalowej |
|
2RS |
Uszczelka NRB wzmocniona po obu stronach wkładką z blachy stalowej |
|
N |
rowek na pierścieniu zewnętrznym |
|
M |
koszyk z mosiądzu obrabianego maszynowo, centrowanie kuli |
|
P |
koszyk polimerowy |
|
Y |
separator stemplowy typu okienkowego wykonany z blachy mosiężnej, z centrowaniem kulowym |
|
P6 |
dokładność wymiarów i biegu wg klasy tolerancji ISO 6 |
|
C2 |
promieniowy luz wewnętrzny mniejszy niż normalnie |
|
C3 |
promieniowy luz wewnętrzny większy niż normalny |
|
C4 |
promieniowy luz wewnętrzny większy niż C3 |
|
LT |
smar niskotemperaturowy |
|
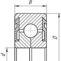
Oznaczenie |
Wymiary |
Waga |
Wartości obciążenia |
Wartości graniczne prędkości obrotowej (obr/min) |
|||||
|
BBC-R |
GOST |
d |
D |
B |
kg |
Dynamiczna |
Statyczna |
W smarze |
W oleju |
|
604 |
14 |
4 | 12 | 4 |
0,002 |
0,83 |
0,3 |
45 000 |
55 000 |
|
605 |
15 |
5 | 14 | 5 |
0,003 |
1,4 |
0,6 |
42 000 |
48 000 |
|
606 |
16 |
6 |
17 |
6 |
0,005 |
2,3 |
0,9 |
38 000 |
45 000 |
|
607 |
17 |
7 |
19 |
6 |
0,0073 |
2,5 |
0,7 |
36 000 |
44 000 |
|
608 |
18 |
8 |
22 |
7 |
0,0118 |
2,7 |
0,9 |
3 4500 |
42 000 |
|
609 |
19 |
9 |
24 |
7 |
0,02 |
3 |
1,1 |
3 2500 |
39 500 |
|
624 |
24 |
4 |
13 |
5 |
0,0031 |
1,1 |
0,4 |
46 000 |
54 000 |
|
625 |
25 |
5 |
16 |
5 |
0,005 |
1,6 |
0,6 |
41 000 |
48 500 |
|
626 |
26 |
6 |
19 |
6 |
0,0082 |
2,5 |
1 |
35 000 |
41 500 |
|
627 |
27 |
9 |
26 |
8 |
0,019 |
3,3 |
1,4 |
33 500 |
39 500 |
|
628 |
28 |
8 |
24 |
8 |
0,0213 |
3,95 |
1,7 |
32 000 |
38 000 |
|
629 |
29 |
9 |
26 |
8 |
0,0195 |
4,6 |
2 |
30 500 |
36 000 |
|
6000 |
100 |
10 |
26 |
8 |
0,0195 |
4,6 |
2 |
27 500 |
33 500 |
|
6001 |
101 |
12 |
28 |
8 |
0,022 |
5,2 |
2,7 |
25 000 |
31 000 |
|
6002 |
102 |
15 |
32 |
9 |
0,0272 |
5,7 |
2,9 |
21 000 |
25 500 |
|
6003 |
103 |
17 |
35 |
10 |
0,04 |
6,1 |
3,3 |
19 500 |
24 000 |
|
6004 |
104 |
20 |
42 |
12 |
0,07 |
9,6 |
5 |
16 500 |
20 000 |
|
6005 |
105 |
25 |
47 |
12 |
0,08 |
10,7 |
6,1 |
13 500 |
17 000 |
|
6006 |
106 |
30 |
55 |
13 |
0,12 |
13,4 |
8,3 |
11 500 |
14 000 |
|
6007 |
107 |
35 |
62 |
14 |
0,15 |
16,3 |
10,3 |
10 300 |
12 300 |
|
6008 |
108 |
40 |
68 |
15 |
0,19 |
17,1 |
11,3 |
9 300 |
11 000 |
|
6009 |
109 |
45 |
75 |
16 |
0,24 |
21,4 |
15 |
8 350 |
10 000 |
|
6010 |
110 |
50 |
80 |
16 |
0,26 |
22,2 |
16,3 |
7 750 |
9 400 |
|
6011 |
111 |
55 |
90 |
18 |
0,38 |
29,4 |
21,5 |
6 900 |
8 400 |
| 6012 | 112 | 60 | 95 | 18 | 0,41 | 29,8 | 23,2 | 6 500 | 7 900 |
| 6013 | 113 | 65 | 100 | 18 | 0,44 | 31 | 25 | 6 200 | 7 500 |
| 6014 | 114 | 70 | 110 | 20 | 0,6 | 38,6 | 31 | 5 500 | 6 700 |
| 6015 | 115 | 75 | 115 | 20 | 0,64 | 40,3 | 33,4 | 5 200 | 6 400 |
| 6016 | 116 | 80 | 125 | 22 | 0,85 | 48,1 | 39,8 | 4 900 | 6 000 |
| 6017 | 117 | 85 | 130 | 22 | 0,89 | 50,4 | 42,9 | 4 600 | 5 600 |
| 6018 | 118 | 90 | 140 | 24 | 1,17 | 59 | 49,6 | 4 400 | 5 300 |
| 6019 | 119 | 95 | 145 | 24 | 1,22 | 61,5 | 54 | 4 100 | 5 000 |
| 6020 | 120 | 100 | 150 | 24 | 1,27 | 63,3 | 55,1 | 4 000 | 4 900 |
| 6021 | 121 | 105 | 160 | 26 | 1,59 | 73,4 | 65,7 | 3 800 | 4 600 |
| 6022 | 122 | 110 | 170 | 28 | 1,95 | 83,2 | 72,9 | 3 600 | 4 450 |
| 6024 | 124 | 120 | 180 | 28 | 2,1 | 86,1 | 79,5 | 3 300 | 4 000 |
| 6026 | 126 | 130 | 200 | 33 | 3,26 | 108 | 100,3 | 3 100 | 3 700 |
| 6028 | 128 | 140 | 210 | 33 | 3,39 | 110 | 107,7 | 2 900 | 3 500 |
| 6030 | 130 | 150 | 225 | 35 | 5,05 | 124,7 | 125 | 2 600 | 3 200 |
| 6032 | 132 | 160 | 240 | 38 | 6,4 | 141 | 140,7 | 2 500 | 3 000 |
| 6034 | 134 | 170 | 260 | 42 | 6,94 | 168 | 172 | 2 200 | 2 700 |
| 6036 | 136 | 180 | 280 | 46 | 11 | 188,7 | 198,7 | 2 100 | 2 600 |
| 6040 | 140 | 200 | 310 | 51 | 14,6 | 215,3 | 242,7 | 1 900 | 2 300 |
| 6048 | 148 | 240 | 360 | 56 | 22,400 | 251 | 305 | 1 700 | 2 000 |
| 6200 | 200 | 10 | 30 | 9 | 0,03 | 5,8 | 2,5 | 24 000 | 28 500 |
| 6201 | 201 | 12 | 32 | 10 | 0,0369 | 7 | 3,1 | 21 500 | 26 000 |
| 6202 | 202 | 15 | 35 | 11 | 0,046 | 7,8 | 3,7 | 19 500 | 23000 |
| 6203 | 203 | 17 | 40 | 12 | 0,07 | 9,7 | 4,8 | 17 000 | 20 000 |
| 6204 | 204 | 20 | 47 | 14 | 0,11 | 13 | 6,6 | 14 000 | 17 000 |
| 6205 | 205 | 25 | 52 | 15 | 0,13 | 14,3 | 7,9 | 12 300 | 14 500 |
| 6206 | 206 | 30 | 62 | 16 | 0,2 | 19,7 | 11,2 | 10 500 | 12 500 |
| 6207 | 207 | 35 | 72 | 17 | 0,28 | 26,1 | 15,3 | 9 150 | 10 500 |
| 6208 | 208 | 40 | 80 | 18 | 0,35 | 31,4 | 18,9 | 8 100 | 9 500 |
| 6209 | 209 | 45 | 85 | 19 | 0,4 | 33,1 | 20,9 | 7 500 | 8 800 |
| 6210 | 210 | 50 | 90 | 20 | 0,46 | 35,7 | 23,2 | 6 900 | 8 300 |
| 6211 | 211 | 55 | 100 | 21 | 0,6 | 44,4 | 29,1 | 6 400 | 7 600 |
| 6212 | 212 | 60 | 110 | 22 | 0,77 | 53,4 | 35,9 | 5 700 | 6 800 |
| 6213 | 213 | 65 | 120 | 23 | 1 | 57,6 | 40,2 | 5 200 | 6 200 |
| 6214 | 214 | 70 | 125 | 24 | 1,07 | 62,6 | 44,3 | 5 100 | 6 000 |
| 6215 | 215 | 75 | 130 | 25 | 1,18 | 67,4 | 48,8 | 4 800 | 5 800 |
| 6216 | 216 | 80 | 140 | 26 | 1,4 | 72,7 | 53,7 | 4 500 | 5 400 |
| 6217 | 217 | 85 | 150 | 28 | 1,8 | 84,8 | 63,2 | 4 100 | 4 900 |
| 6218 | 218 | 90 | 160 | 30 | 2,16 | 97,7 | 71,8 | 3 900 | 4 600 |
| 6219 | 219 | 95 | 170 | 32 | 2,61 | 110,3 | 81,5 | 3 700 | 4 400 |
| 6220 | 220 | 100 | 180 | 34 | 3,13 | 124 | 92,9 | 3 400 | 4 100 |
| 6221 | 221 | 105 | 190 | 36 | 3,74 | 135,3 | 104,3 | 3 200 | 3 900 |
| 6222 | 222 | 110 | 200 | 38 | 4,37 | 146,3 | 117,3 | 3 100 | 3 700 |
| 6224 | 224 | 120 | 215 | 40 | 5,15 | 149 | 119,3 | 2 900 | 3 400 |
| 6226 | 226 | 130 | 230 | 40 | 5,58 | 158,7 | 137 | 2 700 | 3 100 |
| 6228 | 228 | 140 | 250 | 42 | 8,09 | 169,3 | 155 | 2 400 | 2 900 |
| 6230 | 230 | 150 | 270 | 45 | 12,3 | 180 | 171,7 | 2 200 | 2 700 |
| 6232 | 232 | 160 | 290 | 48 | 15 | 196 | 197,3 | 2 100 | 2 500 |
| 6234 | 234 | 170 | 310 | 52 | 15 | 217,3 | 228,3 | 2 000 | 2 400 |
| 6236 | 236 | 180 | 320 | 52 | 16 | 232,3 | 248,3 | 1 900 | 2 200 |
| 6238 | 238 | 190 | 340 | 55 | 23,3 | 260,3 | 286,3 | 1 800 | 2 100 |
| 6244 | 244 | 220 | 400 | 65 | 32,4 | 303,5 | 370,5 | 1 500 | 1 800 |
| 6300 | 300 | 10 | 35 | 11 | 0,049 | 8,1 | 3,4 | 20 500 | 25 500 |
| 6301 | 301 | 12 | 37 | 12 | 0,0591 | 9,9 | 4,2 | 19 000 | 23 500 |
| 6302 | 302 | 15 | 42 | 13 | 0,085 | 11,5 | 5,4 | 16 500 | 20 000 |
| 6303 | 303 | 17 | 47 | 14 | 0,12 | 13,8 | 6,6 | 15 000 | 18 000 |
| 6304 | 304 | 20 | 52 | 15 | 0,15 | 16,2 | 7,8 | 13 000 | 16 000 |
| 6305 | 305 | 25 | 62 | 17 | 0,23 | 22,3 | 11,3 | 10 500 | 13 000 |
| 6306 | 306 | 30 | 72 | 19 | 0,33 | 29,1 | 15,8 | 9 400 | 11 000 |
| 6307 | 307 | 35 | 80 | 21 | 0,45 | 34 | 19,1 | 8 200 | 9 900 |
| 6308 | 308 | 40 | 90 | 23 | 0,63 | 41,2 | 24 | 7 400 | 8 800 |
| 6309 | 309 | 45 | 100 | 25 | 0,83 | 53,7 | 31,6 | 6 700 | 8 100 |
| 6310 | 310 | 50 | 110 | 27 | 1,06 | 62,9 | 37,9 | 5 900 | 7 200 |
| 6311 | 311 | 55 | 120 | 29 | 1,38 | 72 | 44,7 | 5 400 | 6 600 |
| 6312 | 312 | 60 | 130 | 31 | 1,72 | 82,9 | 52 | 5 000 | 6 100 |
| 6313 | 313 | 65 | 140 | 33 | 2,1 | 94,4 | 59,9 | 4 700 | 5 700 |
| 6314 | 314 | 70 | 150 | 35 | 2,54 | 106,3 | 66,4 | 4 400 | 5 300 |
| 6315 | 315 | 75 | 160 | 37 | 3,06 | 115,3 | 76,6 | 4 000 | 4 900 |
| 6316 | 316 | 80 | 170 | 39 | 3,63 | 125,3 | 86,2 | 3 800 | 4 600 |
| 6317 | 317 | 85 | 180 | 41 | 4,2 | 135,2 | 96,5 | 3 600 | 4 400 |
| 6318 | 318 | 90 | 190 | 43 | 4,95 | 146 | 107,7 | 3 400 | 4 100 |
| 6319 | 319 | 95 | 200 | 45 | 5,73 | 151,8 | 116,1 | 3 200 | 3 900 |
| 6320 | 320 | 100 | 25 | 47 | 7,07 | 170,7 | 138,7 | 3 000 | 3 700 |
| 6321 | 321 | 105 | 225 | 49 | 7,99 | 183,7 | 153 | 2 800 | 3 500 |
| 6322 | 322 | 110 | 240 | 50 | 9,59 | 198,7 | 174,3 | 2 700 | 3 200 |
| 6324 | 324 | 120 | 260 | 55 | 12,22 | 209,3 | 187,3 | 2 400 | 3 000 |
| 6326 | 326 | 130 | 280 | 58 | 15,2 | 228,7 | 215 | 2 300 | 2 700 |
| 6330 | 330 | 150 | 320 | 65 | 27,6 | 276,7 | 286,3 | 2 000 | 2 400 |
| 6403 | 403 | 17 | 62 | 17 | 0,27 | 22,5 | 10,8 | 12 300 | 14 500 |
| 6404 | 404 | 20 | 72 | 19 | 0,4 | 30,4 | 15,2 | 10 300 | 12 500 |
| 6405 | 405 | 25 | 80 | 21 | 0,53 | 35,9 | 19,3 | 9 000 | 11 000 |
| 6406 | 406 | 30 | 90 | 23 | 0,73 | 43,4 | 23,7 | 8 000 | 9 600 |
| 6407 | 407 | 35 | 100 | 25 | 0,95 | 55,2 | 31 | 7 100 | 8 600 |
| 6408 | 408 | 40 | 110 | 27 | 1,23 | 63,3 | 36,4 | 6 400 | 7 700 |
| 6409 | 409 | 45 | 120 | 29 | 1,54 | 76,5 | 44,9 | 5 8000 | 7 500 |
| 6410 | 410 | 50 | 130 | 31 | 1,89 | 87,2 | 52 | 5 400 | 6 500 |
| 6411 | 411 | 55 | 140 | 33 | 2,29 | 99,8 | 62 | 5 000 | 6 000 |
| 6412 | 412 | 60 | 150 | 35 | 2,76 | 107,3 | 69 | 4 400 | 5 300 |
| 6413 | 413 | 65 | 160 | 37 | 3,28 | 116,7 | 77,8 | 4 300 | 5 100 |
| 6414 | 414 | 70 | 180 | 42 | 4,85 | 143,3 | 103,7 | 3 900 | 4 600 |
| 6415 | 415 | 75 | 190 | 45 | 5,74 | 152,8 | 113,5 | 3 800 | 4 500 |
| 6416 | 416 | 80 | 200 | 48 | 6,72 | 163,2 | 125 | 3 400 | 4 100 |
| 6417 | 417 | 85 | 210 | 52 | 7,88 | 174 | 136,5 | 3 300 | 4 000 |
| 6418 | 418 | 90 | 225 | 54 | 11,4 | 189 | 154 | 3 200 | 3 800 |
| 685 | 1000085 | 5 | 11 | 3 | 0,001 | 0,65 | 0,27 | 45 000 | 53 000 |
| 688 | 1000088 | 8 | 16 | 4 | 0,003 | 1,4 | 0,6 | 37 000 | 43 000 |
| 695 | 1000095 | 5 | 13 | 4 | 0,003 | 1,1 | 0,5 | 42 000 | 49 000 |
| 696 | 1000096 | 6 | 15 | 5 | 0,004 | 1,4 | 0,6 | 39 000 | 46 000 |
| 697 | 1000097 | 7 | 17 | 5 | 0,005 | 1,7 | 0,8 | 37 000 | 43 000 |
| 698 | 1000098 | 8 | 19 | 6 | 0,008 | 2,2 | 0,9 | 35 000 | 41 000 |
| 699 | 1000099 | 9 | 20 | 6 | 0,007 | 2,5 | 1,12 | 34 000 | 40 000 |
| 61801 | 1000801 | 12 | 21 | 5 | 0,007 | 1,6 | 0,9 | 30 000 | 28 500 |
| 61805 | 1000805 | 25 | 37 | 7 | 0,022 | 4,3 | 3 | 16 000 | 19 500 |
| 61806 | 1000806 | 30 | 42 | 7 | 0,027 | 4,6 | 3,1 | 13 700 | 17 000 |
| 61807 | 1000807 | 35 | 47 | 7 | 0,031 | 4,7 | 3,5 | 12 000 | 15 200 |
| 61818 | 1000818 | 90 | 115 | 13 | 0,300 | 19,8 | 20,7 | 5 100 | 6 100 |
| 61822 | 1000822 | 110 | 140 | 16 | 0,600 | 28,9 | 28,2 | 4 100 | 4 900 |
| 61824 | 1000824 | 120 | 150 | 16 | 0,650 | 30,3 | 30 | 3 800 | 4 600 |
| 61900 | 1000900 | 10 | 22 | 6 | 0,009 | 2,5 | 1 | 32 500 | 39 000 |
| 61901 | 1000901 | 12 | 24 | 6 | 0,010 | 2,7 | 1,3 | 28 500 | 35 000 |
| 61902 | 1000902 | 15 | 28 | 7 | 0,017 | 4,2 | 2,2 | 23 500 | 29 000 |
| 61903 | 1000903 | 17 | 30 | 7 | 0,018 | 4,5 | 2,5 | 21 500 | 27 000 |
| 61904 | 1000904 | 20 | 37 | 9 | 0,035 | 6,4 | 3,7 | 17 700 | 21 200 |
| 61905 | 1000905 | 25 | 42 | 9 | 0,042 | 7 | 4,5 | 14 500 | 18 000 |
| 61906 | 1000906 | 30 | 47 | 9 | 0,049 | 7,2 | 4,6 | 12700 | 16 000 |
| 61907 | 1000907 | 35 | 55 | 10 | 0,090 | 10,5 | 7,1 | 10700 | 14 000 |
| 61908 | 1000908 | 40 | 62 | 12 | 0,110 | 13,2 | 9,2 | 6000 | 12 500 |
| 61909 | 1000909 | 45 | 68 | 12 | 0,150 | 13 | 11,9 | 9400 | 11 500 |
| 61910 | 1000910 | 50 | 72 | 12 | 0,180 | 13,2 | 12 | 8400 | 10 200 |
| 61911 | 1000911 | 55 | 80 | 13 | 0,190 | 15,4 | 14,7 | 7900 | 9 400 |
| 61912 | 1000912 | 60 | 85 | 13 | 0,260 | 15,7 | 15 | 7400 | 8 700 |
| 61913 | 1000913 | 65 | 90 | 13 | 0,300 | 16,9 | 16,5 | 6900 | 8 100 |
| 61914 | 1000914 | 70 | 100 | 16 | 0,320 | 23,7 | 20,2 | 6300 | 7 500 |
| 61915 | 1000915 | 75 | 105 | 16 | 0,380 | 24,2 | 23,1 | 5900 | 7 100 |
| 61916 | 1000916 | 80 | 110 | 16 | 0,430 | 24,7 | 24 | 5600 | 6 600 |
| 61917 | 1000917 | 85 | 120 | 18 | 0,700 | 30,8 | 31 | 5400 | 6 300 |
| 61918 | 1000918 | 90 | 125 | 18 | 0,730 | 32,4 | 32,2 | 3300 | 6 0000 |
| 61919 | 1000919 | 95 | 130 | 18 | 0,760 | 33,6 | 33,6 | 4800 | 5 7000 |
| 61920 | 1000920 | 100 | 140 | 20 | 1,020 | 42,1 | 42,1 | 4500 | 5 300 |
| 61921 | 1000921 | 105 | 145 | 20 | 1,050 | 44,3 | 44 | 4300 | 5 100 |
| 61922 | 1000922 | 110 | 150 | 20 | 1,100 | 44 | 44,3 | 4100 | 4 800 |
| 61924 | 1000924 | 120 | 165 | 22 | 1,400 | 56,1 | 56 | 3600 | 4 400 |
| 61926 | 1000926 | 130 | 180 | 24 | 1,900 | 66,1 | 66,1 | 3500 | 4 100 |
| 61928 | 1000928 | 140 | 190 | 24 | 2,100 | 68,8 | 69,3 | 3200 | 3 800 |
| 61930 | 1000930 | 150 | 210 | 28 | 3,500 | 88,4 | 93 | 2800 | 3 400 |
| 61932 | 1000932 | 160 | 220 | 28 | 3,700 | 92,3 | 98 | 2600 | 3 200 |
| 61934 | 1000934 | 170 | 230 | 28 | 3,029 | 93,6 | 106 | 2 400 | 3 000 |
| 61948 | 1000948 | 240 | 320 | 38 | 9,600 | 159 | 200 | 1 800 | 2 200 |
| 61964 | 1000964 | 320 | 440 | 56 | 27,000 | * | * | * | * |
| 16000 | 7000100 | 10 | 28 | 7 | 0,015 | 4,9 | 2,2 | 35 800 | 41 400 |
| 16001 | 7000101 | 12 | 28 | 7 | 0,018 | 5,2 | 2,6 | 27 500 | 33 000 |
| 16002 | 7000102 | 15 | 32 | 8 | 0,027 | 5,6 | 2,9 | 21 500 | 25 500 |
| 16003 | 7000103 | 17 | 35 | 8 | 0,032 | 6 | 3,3 | 20 00 | 24 000 |
| 16004 | 7000104 | 20 | 42 | 8 | 0,050 | 7,8 | 4,4 | 17 000 | 20 000 |
| 16005 | 7000105 | 25 | 47 | 8 | 0,053 | 8,4 | 5,1 | 14 000 | 17 000 |
| 16006 | 7000106 | 30 | 55 | 9 | 0,087 | 11,4 | 7,4 | 11 5000 | 14 000 |
| 16007 | 7000107 | 35 | 62 | 9 | 0,111 | 11,7 | 8,1 | 10 300 | 12 300 |
| 16008 | 7000108 | 40 | 68 | 9 | 0,125 | 132 | 10 | 9 600 | 11 000 |
| 16009 | 7000109 | 45 | 75 | 10 | 0,170 | 16 | 11,6 | 9 000 | 10 500 |
| 16010 | 7000110 | 50 | 80 | 10 | 0,190 | 16,3 | 12,5 | 8 000 | 9 500 |
| 16011 | 7000111 | 55 | 90 | 11 | 0,260 | 19,7 | 15,,5 | 7 200 | 8 500 |
| 16012 | 7000112 | 60 | 95 | 11 | 0,280 | 20,3 | 16,6 | 6 700 | 8 000 |
| 16013 | 7000113 | 65 | 100 | 11 | 0,300 | 21,8 | 19,4 | 6 300 | 7 500 |
| 16014 | 7000114 | 70 | 110 | 13 | 0,430 | 28,2 | 25 | 5 700 | 6 800 |
| 62200 2RS | 180500 | 10 | 30 | 14 | 0,048 | 5,4 | 2,4 | 14 600 | * |
| 62201 2RS | 180501 | 12 | 32 | 14 | 0,049 | 6,9 | 3,1 | 14 500 | * |
| 62202 2RS | 180502 | 15 | 35 | 14 | 0,055 | 7,7 | 3,7 | 12 500 | * |
| 62203 2RS | 180503 | 17 | 40 | 16 | 0,080 | 9,5 | 4,7 | 11 500 | * |
| 62204 2RS | 180504 | 20 | 47 | 18 | 0,140 | 12,8 | 6,6 | 9 700 | * |
| 62205 2RS | 180505 | 25 | 52 | 18 | 0,150 | 14 | 7,9 | 8 200 | * |
| 62206 2RS | 180506 | 30 | 62 | 20 | 0,300 | 19,5 | 11,2 | 7 200 | * |
| 62207 2RS | 180507 | 35 | 72 | 23 | 0,390 | 25,5 | 15,3 | 6 100 | * |
| 62208 2RS | 180508 | 40 | 80 | 23 | 0,450 | 30,1 | 18,6 | 5 400 | * |
| 62209 2RS | 180509 | 45 | 85 | 23 | 0,510 | 33 | 21,2 | 4 900 | * |
| 62210 2RS | 180510 | 50 | 90 | 23 | 0,540 | 35,1 | 23,2 | 4 600 | * |
| 62211 2RS | 180511 | 55 | 100 | 25 | 0,700 | 43,6 | 29 | 4 300 | * |
| 62212 2RS | 180512 | 60 | 110 | 28 | 0,870 | 52,7 | 36 | 4 000 | * |
| 62300 2RS | 180600 | 10 | 35 | 17 | 0,06 | 8,3 | 43,4 | 14 000 | * |
| 62301 2RS | 180601 | 12 | 37 | 17 | 0,07 | 9,7 | 4,2 | 13 000 | * |
| 62302 2RS | 180602 | 15 | 42 | 17 | 0,107 | 11,4 | 5,4 | 11 500 | * |
| 62303 2RS | 180603 | 17 | 47 | 19 | 0,150 | 13,5 | 6,6 | 10 200 | * |
| 62304 2RS | 180604 | 20 | 52 | 21 | 0,210 | 15,9 | 7,8 | 9 000 | * |
| 62305 2RS | 180605 | 25 | 62 | 24 | 0,240 | 22,4 | 11,5 | 7 300 | * |
| 62306 2RS | 180606 | 30 | 72 | 27 | 0,420 | 28,1 | 15,9 | 6 100 | * |
| 62307 2RS | 180607 | 35 | 80 | 31 | 0,530 | 33,3 | 19,1 | 5 600 | * |
| 62308 2RS | 180608 | 40 | 90 | 33 | 0,850 | 40,8 | 24 | 4 900 | * |
| 62309 2RS | 180609 | 45 | 100 | 36 | 1,100 | 52,7 | 31,5 | 4 500 | * |
| 62310 2RS | 180610 | 50 | 110 | 40 | 1,260 | 61,8 | 38 | 4 300 | * |
| 62311 2RS | 180611 | 55 | 120 | 43 | 1,500 | 71,5 | 45 | 3 800 | * |
| 62312 2RS | 180612 | 60 | 130 | 46 | 1,940 | 81,9 | 52 | 3 400 | * |
| 180703 | 180703 | 17 | 62 | 20 | 0,290 | * | * | * | * |
| 180706 | 180706 | 30 | 78 | 28 | 0,350 | * | * | * | * |
| 180707 | 180707 | 35 | 80 | 23 | 0,460 | * | * | * | * |
| 180712 | 180712 | 60 | 110 | 24 | 0,850 | * | * | * | * |
| 180902 | 180902 | 16 | 35 | 14 | 0,539 | * | * | * | * |
| 1180304 | 1180304 | 20 | 52 | 18 | 0,170 | * | * | * | * |
| 1180305 | 1180305 | 25 | 62 | 21 | 0,280 | * | * | * | * |
|
Oznaczenie |
Wymiary |
Waga |
Wartości obciążenia |
Wartości graniczne prędkości obrotowej (obr/min) |
||||||||||
|
BBC-R |
GOST |
d |
d1 |
D |
B |
kg |
Dynamiczna |
Statyczna |
W smarze |
W oleju |
||||
| 380706 | 380706 | 35 | 30 | 85 | 23 | 0,711 | * | * | * | * | ||||
| 380707 | 380707 | 40 | 35 | 85 | 23 | 0,699 | * | * | * | * | ||||
| 380708 | 380708 | 45 | 40 | 85 | 23 | 0,723 | * | * | * | * | ||||
|
Oznaczenie |
Wymiary |
Waga |
Wartości obciążenia |
Wartości graniczne prędkości obrotowej (obr/min) |
|||||
|
BBC-R |
GOST |
d |
D |
B |
kg |
Dynamiczna |
Statyczna |
W smarze |
W oleju |
| 580204 | 580204 | 20 | 47 | 14 | 0,106 | * | * | * | * |
| 580205 | 580205 | 25 | 52 | 15 | 0,123 | * | * | * | * |
| 580306 | 580306 | 30 | 72 | 19 | 0,349 | * | * | * | * |
| 1580205 | 1580205 | 25 | 52 | 16 | 0,140 | * | * | * | * |
| 1580206 | 1580206 | 30 | 62 | 18 | 0,224 | * | * | * | * |
| 1580207 | 1580207 | 35 | 72 | 20 | 0,313 | * | * | * | * |
| 1580209 | 1580209 | 45 | 85 | 21 | 0,452 | * | * | * | * |
| 1580211 | 1580211 | 55 | 100 | 23 | 0,650 | * | * | * | * |
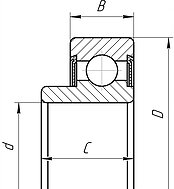
|
Oznaczenie |
Wymiary |
Waga |
Wartości obciążenia |
Wartości graniczne prędkości obrotowej (obr/min) |
||||||||||
|
BBC-R |
GOST |
d |
d1 |
D |
B |
C |
kg |
Dynamiczna |
Statyczna |
W smarze |
W oleju |
|||
| 680210 | 680210 | 55 | 50 | 100 | 25 | 45 | 1,156 | * | * | * | * | |||
| 680314 | 680314 | 75 | 70 | 150 | 39 | 78 | 3,870 | * | * | * | * | |||
| 1680204 | 1680204 | 25 | 20 | 52 | 16 | 18 | 0,231 | * | * | * | * | |||
| 1680205 | 1680205 | 30 | 25 | 62 | 18 | 20 | 0,340 | * | * | * | * | |||
| 1680206 | 1680206 | 35 | 30 | 72 | 20 | 22 | 0,481 | * | * | * | * | |||
| 1680207 | 1680207 | 40 | 35 | 80 | 21 | 23 | 0,617 | * | * | * | * | |||
| 1680208 | 1680208 | 45 | 40 | 85 | 21 | 23 | 0,655 | * | * | * | * | |||
|
Oznaczenie |
Wymiary |
Waga |
Wartości obciążenia |
Wartości graniczne prędkości obrotowej (obr/min) |
||||||||
|
BBC-R |
GOST |
d |
D |
B |
kg |
Dynamiczna |
Statyczna |
W smarze |
W oleju |
|||
| 360708 | 360708 | 40 | 70 | 18 | 0,243 | * | * | * | * | |||
| 360710 | 360710 | 50 | 82 | 20 | 0,361 | * | * | * | * | |||
|
Oznaczenie |
Wymiary |
Waga |
Wartości obciążenia |
Wartości graniczne prędkości obrotowej (obr/min) |
||||||||
|
BBC-R |
GOST |
d |
D |
B |
kg |
Dynamiczna |
Statyczna |
W smarze |
W oleju |
|||
| 520806 | 520806 | 31 | 55 | 13 | 19 | * | * | * | * | |||
|
Oznaczenie |
Wymiary |
Waga |
Wartości obciążenia |
Wartości graniczne prędkości obrotowej (obr/min) |
||||||||||
|
BBC-R |
GOST |
d |
D |
B |
C |
kg |
Dynamiczna |
Statyczna |
W smarze |
W oleju |
||||
| 520806 | 520806 | 31 | 55 | 13 | 19 | 0,130 | * | * | * | * | ||||
|
Oznaczenie |
Wymiary |
Waga |
Wartości obciążenia |
Wartości graniczne prędkości obrotowej (obr/min) |
|||||||||
|
BBC-R |
GOST |
d |
D |
B |
C |
kg |
Dynamiczna |
Statyczna |
W smarze |
W oleju |
|||
| 330802 | 330802 | 16 | 30 | 39 | 92 | 0,228 | * | * | * | * | |||
| 330902 | 330902 | 16 | 30 | 39 | 115 | 0,260 | * | * | * | * | |||
|
Oznaczenie podstawowe |
Koszyk (bez przyrostka, M, F) |
Dokładność; (bez przyrostka, P6) |
|
bez przyrostka |
koszyk ze stali tłoczonej, centrowany kulkowo; dokładność wymiarowa i ruchowa w klasie normalnej |
|
M |
koszyk z mosiądzu obrabianego maszynowo, centrowanie kuli |
|
F |
koszyk stalowy, centrowany kulkowo |
|
P6 |
dokładność wymiarów i biegu wg klasy tolerancji ISO 6 |
|
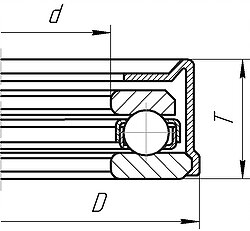
Oznaczenie |
Wymiary |
Waga |
Wartości obciążenia |
Wartości graniczne prędkości obrotowej (obr/min) |
||||||||||
|
BBC-R |
GOST |
d |
d1 |
D |
D |
T |
kg |
Dynamiczna |
Statyczna |
W smarze |
W oleju |
|||
| 51100 | 8100 | 10 | 24 | 24 | 10,2 | 9 | 0,02 | 10,38 | 14,43 | 7900 | 10600 | |||
| 51101 | 8101 | 12 | 26 | 26 | 12,2 | 9 | 0,02 | 10,73 | 15,8 | 7500 | 10000 | |||
| 51102 | 8102 | 15 | 28 | 28 | 15,2 | 9 | 0,02 | 10,97 | 17,3 | 7100 | 9400 | |||
| 51103 | 8103 | 17 | 30 | 30 | 17,2 | 9 | 0,03 | 11,8 | 20,13 | 7100 | 9400 | |||
| 51104 | 8104 | 20 | 35 | 35 | 20,2 | 10 | 0,04 | 15,63 | 27,4 | 6300 | 8400 | |||
| 51105 | 8105 | 25 | 42 | 42 | 25,2 | 11 | 0,06 | 18,87 | 36,67 | 5300 | 7100 | |||
| 51106 | 8106 | 30 | 47 | 47 | 30,2 | 11 | 0,07 | 19,63 | 40,93 | 5000 | 6300 | |||
| 51107 | 8107 | 35 | 52 | 52 | 35,2 | 12 | 0,08 | 20,83 | 48,07 | 4700 | 6300 | |||
| 51108 | 8108 | 40 | 60 | 60 | 40,2 | 13 | 0,12 | 27,5 | 62,93 | 4200 | 5600 | |||
| 51109 | 8109 | 45 | 65 | 65 | 45,2 | 14 | 0,15 | 28,57 | 69,3 | 4000 | 5300 | |||
| 51110 | 8110 | 50 | 70 | 70 | 50,2 | 14 | 0,16 | 29,37 | 75,33 | 3800 | 5000 | |||
| 51111 | 8111 | 55 | 78 | 78 | 55,2 | 16 | 0,24 | 33,83 | 89,3 | 3300 | 4500 | |||
| 51112 | 8112 | 60 | 85 | 85 | 60,2 | 17 | 0,29 | 43,13 | 113 | 3200 | 4200 | |||
| 51113 | 8113 | 65 | 90 | 90 | 65,2 | 18 | 0,34 | 39,8 | 116 | 3000 | 3900 | |||
| 51114 | 8114 | 70 | 95 | 95 | 70,2 | 18 | 0,36 | 43,33 | 124,67 | 2800 | 3800 | |||
| 51115 | 8115 | 75 | 100 | 100 | 75,2 | 19 | 0,42 | 46,17 | 135,33 | 2700 | 3500 | |||
| 51116 | 8116 | 80 | 105 | 105 | 80,2 | 19 | 0,43 | 46,5 | 140,67 | 2700 | 3500 | |||
| 51117 | 8117 | 85 | 110 | 110 | 85,2 | 19 | 0,46 | 47,47 | 148,67 | 2700 | 3500 | |||
| 51118 | 8118 | 90 | 120 | 120 | 90,2 | 22 | 0,68 | 61,93 | 196 | 2000 | 2700 | |||
| 51120 | 8120 | 100 | 135 | 135 | 100,2 | 25 | 0,99 | 87 | 267 | 2000 | 2700 | |||
| 51122 | 8122 | 110 | 145 | 145 | 110,2 | 25 | 1,08 | 89,43 | 287 | 1900 | 2500 | |||
| 51124 | 8124 | 120 | 155 | 155 | 120,2 | 25 | 1,16 | 89,73 | 307 | 1600 | 2100 | |||
| 51126 | 8126 | 130 | 170 | 170 | 130,3 | 30 | 1,87 | 121,77 | 417,33 | 1400 | 1900 | |||
| 51128 | 8128 | 140 | 180 | 180 | 140,3 | 31 | 2,07 | 122,05 | 430,05 | 1300 | 1800 | |||
| 51130 | 8130 | 150 | 190 | 190 | 150,3 | 31 | 2,2 | 122,87 | 445,33 | 1300 | 1800 | |||
| 51132 | 8132 | 160 | 200 | 200 | 160,3 | 31 | 2,33 | 123,6 | 472,33 | 1300 | 1800 | |||
| 51134 | 8134 | 170 | 215 | 215 | 170,3 | 34 | 3,31 | 142,03 | 540,67 | 1200 | 1600 | |||
| 51136 | 8136 | 180 | 225 | 225 | 180,3 | 34 | 3,48 | 145,2 | 579,67 | 1100 | 1500 | |||
| 51140 | 8140 | 200 | 250 | 250 | 200,3 | 37 | 4,24 | 177,8 | 701 | 1000 | 1400 | |||
| 51144 | 8144 | 220 | 270 | 270 | 220,3 | 37 | 4,62 | 185,37 | 779,83 | 900 | 1300 | |||
| 51148 | 8148 | 240 | 300 | 300 | 240,3 | 45 | 7,55 | 248,37 | 1015 | 800 | 1100 | |||
| 51152 | 8152 | 260 | 320 | 320 | 260,3 | 45 | 8,11 | 249,2 | 1080 | 800 | 1100 | |||
| 51156 | 8156 | 280 | 350 | 350 | 280,3 | 53 | 12,2 | 316,77 | 1420 | 700 | 1000 | |||
| 51164 | 8164 | 320 | 400 | 400 | 320,4 | 63 | 18,9 | 368,6 | 1806,67 | 600 | 800 | |||
| 51172 | 8172 | 360 | 440 | 440 | 360,4 | 65 | 21,8 | 386,1 | 2020 | 500 | 700 | |||
| 51200 | 8200 | 10 | 26 | 26 | 10,2 | 11 | 0,03 | 12,67 | 15,33 | 6600 | 8700 | |||
| 51201 | 8201 | 12 | 28 | 28 | 12,2 | 11 | 0,03 | 13,23 | 17,37 | 6300 | 4400 | |||
| 51202 | 8202 | 15 | 32 | 32 | 15,2 | 12 | 0,05 | 16,3 | 24,6 | 6000 | 7900 | |||
| 51203 | 8203 | 17 | 35 | 35 | 17,2 | 12 | 0,05 | 16,77 | 26,73 | 5600 | 7500 | |||
| 51204 | 8204 | 20 | 40 | 40 | 20,2 | 14 | 0,08 | 22,67 | 37,63 | 5000 | 6700 | |||
| 51205 | 8205 | 25 | 47 | 47 | 25,2 | 15 | 0,12 | 28,3 | 50,33 | 4500 | 6000 | |||
| 51206 | 8206 | 30 | 52 | 52 | 30,2 | 16 | 0,14 | 30,3 | 55,8 | 4000 | 5300 | |||
| 51207 | 8207 | 35 | 62 | 62 | 35,2 | 18 | 0,22 | 38,67 | 76,63 | 3500 | 4700 | |||
| 51208 | 8208 | 40 | 68 | 68 | 40,2 | 19 | 0,27 | 45,53 | 93,77 | 3200 | 4200 | |||
| 51209 | 8209 | 45 | 73 | 73 | 45,2 | 20 | 0,32 | 47 | 98,83 | 4000 | 4000 | |||
| 51210 | 8210 | 50 | 78 | 78 | 50,2 | 22 | 0,39 | 49,5 | 112,67 | 3000 | 3800 | |||
| 51211 | 8211 | 55 | 90 | 90 | 55,2 | 25 | 0,61 | 67,17 | 150,67 | 2800 | 3300 | |||
| 51212 | 8212 | 60 | 95 | 95 | 60,2 | 26 | 0,69 | 73,6 | 160 | 2500 | 3000 | |||
| 51213 | 8213 | 65 | 100 | 100 | 65,2 | 27 | 0,77 | 76,4 | 176 | 2400 | 3200 | |||
| 51214 | 8214 | 70 | 105 | 105 | 70,2 | 27 | 0,81 | 76,9 | 186 | 2400 | 3000 | |||
| 51215 | 8215 | 75 | 110 | 110 | 75,2 | 27 | 0,86 | 81,2 | 196 | 2200 | 3000 | |||
| 51216 | 8216 | 80 | 115 | 115 | 80,2 | 28 | 0,95 | 86,4 | 215,33 | 2200 | 2700 | |||
| 51217 | 8217 | 85 | 125 | 125 | 85,2 | 31 | 1,29 | 99,27 | 267,67 | 2000 | 2700 | |||
| 51218 | 8218 | 90 | 135 | 135 | 90,2 | 35 | 1,77 | 121,33 | 290,67 | 2000 | 2100 | |||
| 51220 | 8220 | 100 | 150 | 150 | 100,2 | 38 | 2,36 | 135 | 331 | 1600 | 1900 | |||
| 51222 | 8222 | 110 | 160 | 160 | 110,2 | 38 | 2,57 | 142 | 372 | 1200 | 1700 | |||
| 51224 | 8224 | 120 | 170 | 170 | 120,2 | 39 | 2,86 | 147 | 404 | 1100 | 1600 | |||
| 51226 | 8226 | 130 | 190 | 190 | 130,2 | 45 | 4,19 | 185,27 | 554,13 | 1000 | 1500 | |||
| 51228 | 8228 | 140 | 200 | 200 | 140,3 | 46 | 4,88 | 207,33 | 595,33 | 1000 | 1400 | |||
| 51230 | 8230 | 150 | 215 | 215 | 150,3 | 50 | 6,19 | 252,6 | 790 | 900 | 1300 | |||
| 51236 | 8236 | 180 | 250 | 250 | 180,3 | 56 | 8,85 | 307,77 | 1050 | 800 | 1100 | |||
| 51240 | 8240 | 200 | 280 | 280 | 200,3 | 62 | 338 | 342,87 | 1223,33 | 700 | 1000 | |||
| 51244 | 8244 | 220 | 300 | 300 | 220,3 | 63 | 13,7 | 356,33 | 1303,33 | 600 | 900 | |||
| 51302 | 8302 | 15 | 37 | 37 | 15 | 15 | 0,08 | * | * | * | * | |||
| 51303 | 8303 | 17 | 40 | 40 | 17 | 16 | 0,1 | * | * | * | * | |||
| 51304 | 8304 | 20 | 47 | 47 | 20,2 | 18 | 0,16 | * | * | * | * | |||
| 51305 | 8305 | 25 | 52 | 52 | 25,2 | 18 | 0,18 | 36,37 | 61 | 3800 | 5000 | |||
| 51306 | 8306 | 30 | 60 | 60 | 30,2 | 21 | 0,27 | 41,1 | 74,3 | 3300 | 4500 | |||
| 51307 | 8307 | 35 | 68 | 68 | 35,2 | 24 | 0,39 | 54,57 | 102,17 | 2800 | 3800 | |||
| 51308 | 8308 | 40 | 78 | 78 | 40,2 | 26 | 0,55 | 68,2 | 130,67 | 2700 | 3500 | |||
| 51309 | 8309 | 45 | 85 | 85 | 45,2 | 28 | 0,69 | 81,1 | 160,33 | 2400 | 3200 | |||
| 51310 | 8310 | 50 | 95 | 95 | 50,2 | 31 | 1 | 88,83 | 162,33 | 2000 | 2700 | |||
| 51311 | 8311 | 55 | 105 | 105 | 55,2 | 35 | 1,34 | 114,2 | 238,67 | 1900 | 2500 | |||
| 51312 | 8312 | 60 | 110 | 110 | 60,2 | 35 | 1,43 | 116,73 | 254,67 | 1900 | 2500 | |||
| 51313 | 8313 | 65 | 115 | 115 | 65,2 | 36 | 1,57 | 121,1 | 271,33 | 1800 | 2400 | |||
| 51314 | 8314 | 70 | 125 | 125 | 70,2 | 40 | 2,06 | 142,8 | 320 | 1600 | 2000 | |||
| 51315 | 8315 | 75 | 135 | 135 | 75,2 | 44 | 2,68 | 173,07 | 360 | 1400 | 1900 | |||
| 51316 | 8316 | 80 | 140 | 140 | 80,2 | 44 | 2,82 | 166,33 | 380 | 1300 | 1800 | |||
| 51317 | 8317 | 85 | 150 | 150 | 85,2 | 49 | 3,66 | 197,17 | 449 | 1200 | 1700 | |||
| 51318 | 8318 | 90 | 155 | 155 | 90,2 | 50 | 3,88 | 204,53 | 487 | 1100 | 1500 | |||
| 51320 | 8320 | 100 | 170 | 170 | 100,2 | 55 | 6,11 | 240,03 | 586 | 1000 | 1400 | |||
| 51322 | 8322 | 110 | 190 | 190 | 110,2 | 63 | 7,87 | 293,43 | 780,67 | 900 | 1200 | |||
| 51324 | 8324 | 120 | 210 | 210 | 120,2 | 70 | 10,9 | 339,63 | 957,33 | 800 | 1100 | |||
| 51326 | 8326 | 130 | 225 | 225 | 130,3 | 75 | 13,3 | 358 | 1083,33 | 700 | 1000 | |||
| 51330 | 8330 | 150 | 250 | 250 | 150,3 | 80 | 16,7 | 418,23 | 1313,33 | 600 | 900 | |||
| 51336 | 8336 | 180 | 300 | 300 | 180,3 | 95 | 28,7 | 491,5 | 1790 | 500 | 700 | |||
| 51340 | 8340 | 200 | 340 | 340 | 200,3 | 110 | 43,7 | 566,67 | 2250 | 400 | 600 | |||
|
Oznaczenie |
Wymiary |
Waga |
Wartości obciążenia |
Wartości graniczne prędkości obrotowej (obr/min) |
||||||||
|
BBC-R |
GOST |
d |
D |
T |
kg |
Dynamiczna |
Statyczna |
W smarze |
W oleju |
|||
| 98206 | 98206 | 30,1 | 53 | 16 | 0,13 | * | * | * | * | |||
| 9588213 | 9588213 | 65 | 100 | 21 | 0,62 | * | * | * | * | |||
| 9588214 | 9588214 | 70 | 105 | 21,5 | 0,65 | * | * | * | * | |||
| 9588217 | 9588217 | 85 | 125 | 24,5 | 0,86 | * | * | * | * | |||
| 688811 | 688811 | 55 | 90 | 21 | 0,41 | * | * | * | * | |||
| 688911 | 688911 | 52,388 | 84,5 | 20,7 | 0,37 | * | * | * | * | |||
|
Oznaczenie |
Wymiary |
Waga |
Wartości obciążenia |
Wartości graniczne prędkości obrotowej (obr/min) |
||||||||||
|
BBC-R |
GOST |
d |
D |
D1 |
T |
kg |
Dynamiczna |
Statyczna |
W smarze |
W oleju |
||||
| 958705 | 958705 | 25 | 56 | 47 | 16 | 0,14 | * | * | * | * | ||||
|
Oznaczenie |
Wymiary |
Waga |
Wartości obciążenia |
Wartości graniczne prędkości obrotowej (obr/min) |
|||||
|
BBC-R |
GOST |
d |
D |
B |
kg |
Dynamiczna |
Statyczna |
W smarze |
W oleju |
| 348702 | 348702 | 14,5 | 52 | 14 | 0,180 | * | * | * | * |
| QJ222 | 176222Л | 110 | 200 | 38 | 5,700 | * | * | * | * |
|
Oznaczenie podstawowe |
Budowa wewnętrzna (AC, C, B) |
Koszyk (bez przyrostka, M, Y, P) |
Dokładność (bez przyrostka, P6) |
|
bez przyrostka |
koszyk ze stali tłoczonej, centrowany kulkowo; dokładność wymiarowa i ruchowa w klasie normalnej |
|
AC |
kąt złącza 250 |
|
C |
kąt złącza 150 |
|
B |
kąt złącza 400 |
|
M |
koszyk z mosiądzu obrabianego maszynowo, centrowanie kuli |
|
P |
koszyk polimerowy |
|
Y |
koszyk mosiężny tłoczony, centrowany kulkowo |
|
P6 |
dokładność wymiarów i biegu wg klasy tolerancji ISO 6 |
|
Oznaczenie |
Wymiary |
Waga |
Wartości obciążenia |
Wartości graniczne prędkości obrotowej (obr/min) |
||||||
|
BBC-R |
GOST |
d |
D |
B |
kg |
Dynamiczna |
Statyczna |
W smarze |
W oleju |
|
| 7203 B | 66203 | 17 | 40 | 12 | 0,07 | 11 | 6 | 15300 | 18000 | |
| 7204 B | 66204 | 20 | 47 | 14 | 0,11 | 13 | 8 | 13800 | 16200 | |
| 7205 B | 66205 | 25 | 52 | 15 | 0,14 | 15 | 10 | 11500 | 13500 | |
| 7206 B | 66206 | 30 | 62 | 16 | 0,2 | 23 | 15 | 9900 | 11700 | |
| 7207 B | 66207 | 35 | 72 | 17 | 0,29 | 30 | 20 | 8400 | 9900 | |
| 7208 B | 66208 | 40 | 80 | 18 | 0,37 | 36 | 25 | 7700 | 9000 | |
| 7209 B | 66209 | 45 | 85 | 19 | 0,43 | 37 | 27 | 6900 | 8100 | |
| 7210 B | 66210 | 50 | 90 | 20 | 0,48 | 38 | 30 | 6500 | 7700 | |
| 7211 B | 66211 | 55 | 100 | 21 | 0,63 | 48 | 37 | 5700 | 6800 | |
| 7212 B | 66212 | 60 | 110 | 22 | 0,8 | 56 | 45 | 5400 | 6300 | |
| 7213 B | 66213 | 65 | 120 | 23 | 1 | 65 | 53 | 4800 | 5700 | |
| 7214 B | 66214 | 70 | 125 | 24 | 1,1 | 70 | 59 | 4600 | 5400 | |
| 7215 B | 66215 | 75 | 130 | 25 | 1,48 | 71 | 63 | 4300 | 5000 | |
| 7216 B | 66216 | 80 | 140 | 26 | 1,84 | * | * | * | * | |
| 7217 B | 66217 | 85 | 150 | 28 | 2,21 | 94 | 81 | 3800 | 4500 | |
| 7218 B | 66218 | 90 | 160 | 30 | 2,26 | 106 | 95 | 3400 | 4100 | |
| 7219 B | 66219 | 95 | 170 | 32 | 2,63 | 122 | 106 | 3300 | 3900 | |
| 7220 B | 66220 | 100 | 180 | 34 | 3,32 | 132 | 120 | 3100 | 3600 | |
| 7222 B | 66222 | 110 | 200 | 38 | 4,62 | 150 | 140 | 2900 | 3400 | |
| 7224 B | 66224 | 120 | 215 | 40 | 5,48 | 162 | 160 | 2800 | 3200 | |
| 7303 B | 66303 | 17 | 47 | 14 | 0,12 | 16 | 8 | 14500 | 17100 | |
| 7304 B | 66304 | 20 | 52 | 15 | 0,16 | 19 | 10 | 12200 | 14400 | |
| 7305 B | 66305 | 25 | 62 | 17 | 0,25 | 25 | 15 | 10700 | 12600 | |
| 7306 B | 66306 | 30 | 72 | 19 | 0,38 | 34 | 21 | 9200 | 10800 | |
| 7307 B | 66307 | 35 | 80 | 21 | 0,5 | 38 | 24 | 7700 | 9000 | |
| 7308 B | 66308 | 40 | 90 | 23 | 0,69 | 48 | 33 | 6900 | 8100 | |
| 7309 B | 66309 | 45 | 100 | 25 | 0,92 | 59 | 41 | 6100 | 7200 | |
| 7310 B | 66310 | 50 | 110 | 27 | 1,2 | 73 | 50 | 5700 | 6800 | |
| 7311 B | 66311 | 55 | 120 | 29 | 1,55 | 84 | 59 | 5100 | 6000 | |
| 7312 B | 66312 | 60 | 130 | 31 | 1,94 | 94 | 68 | 4600 | 5400 | |
| 7313 B | 66313 | 65 | 140 | 33 | 2,38 | 106 | 78 | 4300 | 5000 | |
| 7314 B | 66314 | 70 | 150 | 35 | 2,89 | 117 | 88 | 4100 | 4800 | |
| 7315 B | 66315 | 75 | 160 | 37 | 3,47 | 123 | 96 | 3800 | 4500 | |
| 7316 B | 66316 | 80 | 170 | 39 | 4,12 | 140 | 116 | 3400 | 4100 | |
| 7317 B | 66317 | 85 | 180 | 41 | 4,84 | 143 | 110 | 3300 | 3900 | |
| 7318 B | 66318 | 90 | 190 | 43 | 5,65 | 153 | 131 | 3100 | 3600 | |
| 7319 B | 66319 | 95 | 200 | 45 | 6,25 | 165 | 147 | 2900 | 3400 | |
| 7320 B | 66320 | 100 | 215 | 47 | 8,04 | 199 | 186 | 2800 | 3200 | |
| 7322 B | 66322 | 110 | 240 | 50 | 10,8 | 221 | 220 | 2400 | 2900 | |
| 7330 B | 66330 | 150 | 320 | 65 | 24,4 | 302 | 300 | 1700 | 2200 | |
| 7405 B | 66405 | 25 | 80 | 21 | 0,5 | 40 | 22 | 7000 | 10000 | |
| 7406 B | 66406 | 30 | 90 | 23 | 0,77 | 44 | 28 | 5000 | 6700 | |
| 7407 B | 66407 | 35 | 100 | 25 | 1,05 | 45 | 34 | 5000 | 6300 | |
| 7408 B | 66408 | 40 | 110 | 27 | 1,37 | 72 | 42 | 5100 | 7000 | |
| 7409 B | 66409 | 45 | 120 | 29 | 1,75 | 82 | 47 | 4000 | 5300 | |
| 7410 B | 66410 | 50 | 130 | 31 | 2,17 | 99 | 60 | 2800 | 3400 | |
| 7411 B | 66411 | 55 | 140 | 33 | 2,3 | * | * | * | * | |
| 7412 B | 66412 | 60 | 150 | 35 | 3,37 | 125 | 80 | 4300 | 5600 | |
| 7413 B | 66413 | 65 | 160 | 37 | 3,4 | * | * | * | * | |
| 7414 B | 66414 | 70 | 180 | 42 | 5,74 | 152 | 109 | 3100 | 3800 | |
| 7415 B | 66415 | 75 | 190 | 45 | 5,9 | * | * | * | * | |
| 7416 B | 66414 | 80 | 200 | 48 | 7,25 | 196 | 160 | 2600 | 3400 | |
| 7417 B | 66417 | 85 | 210 | 52 | 8 | * | * | * | * | |
| 7418 B | 66418 | 90 | 225 | 54 | 12 | 221 | 187 | 2400 | 3200 | |
| 7432 B | 66432 | 160 | 400 | 88 | 59,8 | * | * | * | * | |
| 7003 C | 36103 | 17 | 35 | 10 | 0,04 | 6 | 4 | 45000 | 67000 | |
| 7004 C | 36104 | 20 | 42 | 12 | 0,07 | 8 | 5 | 36000 | 53000 | |
| 7005 C | 36105 | 25 | 47 | 12 | 0,08 | 10 | 7 | 30000 | 45000 | |
| 7006 C | 36106 | 30 | 55 | 13 | 0,12 | 12 | 9 | 26000 | 40000 | |
| 7007 C | 36107 | 35 | 62 | 14 | 0,16 | 14 | 11 | 22000 | 36000 | |
| 7008 C | 36108 | 40 | 68 | 15 | 0,2 | 21 | 16 | 20000 | 34000 | |
| 7009 C | 36109 | 45 | 75 | 16 | 0,25 | 15 | 13 | 18000 | 30000 | |
| 7010 C | 36110 | 50 | 80 | 16 | 0,27 | 39 | 21 | 17000 | 28000 | |
| 7011 C | 36111 | 55 | 90 | 18 | 0,4 | * | * | * | * | |
| 7012 C | 36112 | 60 | 95 | 18 | 0,42 | 39 | 33 | 14000 | 22000 | |
| 7013 C | 36113 | 65 | 100 | 18 | 0,45 | * | * | * | * | |
| 7014 C | 36114 | 70 | 110 | 20 | 0,62 | 46 | 42 | 12000 | 19000 | |
| 7015 C | 36115 | 75 | 115 | 20 | 0,66 | * | * | * | * | |
| 7016 C | 36116 | 80 | 125 | 22 | 0,88 | 59 | 55 | 11000 | 18000 | |
| 7017 C | 36117 | 85 | 130 | 22 | 0,92 | 57 | 56 | 10000 | 17000 | |
| 7018 C | 36118 | 90 | 140 | 24 | 1,19 | * | * | * | * | |
| 7020 C | 36120 | 100 | 150 | 24 | 1,29 | * | * | * | * | |
| 7022 C | 36122 | 110 | 170 | 28 | 2,02 | * | * | * | * | |
| 7203 C | 36203 | 17 | 40 | 12 | 0,07 | 10 | 6 | 38000 | 56000 | |
| 7204 C | 36204 | 20 | 47 | 14 | 0,11 | 10 | 7 | 32000 | 48000 | |
| 7205 C | 36205 | 25 | 52 | 15 | 0,14 | 16 | 9 | 28000 | 43000 | |
| 7206 C | 36206 | 30 | 62 | 16 | 0,2 | 14 | 12 | 24000 | 38000 | |
| 7207 C | 36207 | 35 | 72 | 17 | 0,29 | 29 | 18 | 20000 | 34000 | |
| 7208 C | 36208 | 40 | 80 | 18 | 0,37 | 27 | 20 | 18000 | 30000 | |
| 7209 C | 36209 | 45 | 85 | 19 | 0,43 | 29 | 23 | 17000 | 28000 | |
| 7210 C | 36210 | 50 | 90 | 20 | 0,48 | 29 | 23 | 16000 | 26000 | |
| 7211 C | 36211 | 55 | 100 | 21 | 0,63 | 35 | 31 | 14000 | 22000 | |
| 7212 C | 36212 | 60 | 110 | 22 | 0,8 | 64 | 49 | 13000 | 20000 | |
| 7214 C | 36214 | 70 | 125 | 24 | 1,1 | 77 | 60 | 11000 | 18000 | |
| 7216 C | 36216 | 80 | 140 | 26 | 1,84 | * | * | * | * | |
| 7217 C | 36217 | 85 | 150 | 28 | 2,2 | * | * | * | * | |
| 7218 C | 36218 | 90 | 160 | 30 | 2,21 | * | * | * | * | |
| 7219 C | 36219 | 95 | 170 | 32 | 2,63 | 122 | 108 | 7000 | 11000 | |
| 7220 C | 36220 | 100 | 180 | 34 | 3,32 | * | * | * | * | |
| 7318 C | 36318 | 90 | 190 | 43 | 5,65 | * | * | * | * | |
| 7003 AC | 46103 | 17 | 35 | 10 | 0,04 | * | * | * | * | |
| 7004 AC | 46104 | 20 | 42 | 12 | 0,07 | * | * | * | * | |
| 7005 AC | 46105 | 25 | 47 | 12 | 0,08 | * | * | * | * | |
| 7006 AC | 46106 | 30 | 55 | 13 | 0,12 | * | * | * | * | |
| 7007 AC | 46107 | 35 | 62 | 14 | 0,16 | * | * | * | * | |
| 7008 AC | 46108 | 40 | 68 | 15 | 0,2 | * | * | * | * | |
| 7009 AC | 46109 | 45 | 75 | 16 | 0,25 | * | * | * | * | |
| 7010 AC | 46110 | 50 | 80 | 16 | 0,27 | * | * | * | * | |
| 7011 AC | 46111 | 55 | 90 | 18 | 0,4 | * | * | * | * | |
| 7012 AC | 46112 | 60 | 95 | 18 | 0,42 | 37 | 31 | 13000 | 20000 | |
| 7013 AC | 46113 | 65 | 100 | 18 | 0,45 | * | * | * | * | |
| 7014 AC | 46114 | 70 | 110 | 20 | 0,62 | * | * | * | * | |
| 7015 AC | 46115 | 75 | 115 | 20 | 0,66 | * | * | * | * | |
| 7016 AC | 46116 | 80 | 125 | 22 | 0,88 | * | * | * | * | |
| 7017 AC | 46117 | 85 | 130 | 22 | 0,92 | * | * | * | * | |
| 7018 AC | 46118 | 90 | 140 | 24 | 1,19 | * | * | * | * | |
| 7020 AC | 46120 | 100 | 150 | 24 | 1,29 | * | * | * | * | |
| 7022 AC | 46122 | 110 | 170 | 28 | 2,02 | * | * | * | * | |
| 7024 AC | 46124 | 120 | 180 | 28 | 2,17 | 98 | 104 | 6300 | 9500 | |
| 7026 AC | 46126 | 130 | 200 | 33 | 3,28 | 125 | 137 | 5600 | 8500 | |
| 7028 AC | 46128 | 140 | 210 | 33 | 3,48 | * | * | * | * | |
| 7202 AC | 46202 | 15 | 35 | 11 | 0,05 | * | * | * | * | |
| 7203 AC | 46203 | 17 | 40 | 12 | 0,07 | 10 | 6 | 15000 | 20000 | |
| 7204 AC | 46204 | 20 | 47 | 14 | 0,11 | * | * | * | * | |
| 7205 AC | 46205 | 25 | 52 | 15 | 0,14 | * | * | * | * | |
| 7206 AC | 46206 | 30 | 62 | 16 | 0,2 | * | * | * | * | |
| 7207 AC | 46207 | 35 | 72 | 17 | 0,29 | 29 | 19 | 19000 | 32000 | |
| 7208 AC | 46208 | 40 | 80 | 18 | 0,37 | * | * | * | * | |
| 7209 AC | 46209 | 45 | 85 | 19 | 0,43 | * | * | * | * | |
| 7210 AC | 46210 | 50 | 90 | 20 | 0,48 | * | * | * | * | |
| 7211 AC | 46211 | 55 | 100 | 21 | 0,63 | * | * | * | * | |
| 7212 AC | 46212 | 60 | 110 | 22 | 0,8 | 61 | 48 | 12000 | 19000 | |
| 7213 AC | 46213 | 65 | 120 | 23 | 1 | * | * | * | * | |
| 7214 AC | 46214 | 70 | 125 | 24 | 1,1 | 72 | 57 | 10000 | 17000 | |
| 7215 AC | 46215 | 75 | 130 | 25 | 1,48 | 99 | 65 | 9500 | 16000 | |
| 7216 AC | 46216 | 80 | 140 | 26 | 1,84 | * | * | * | * | |
| 7217 AC | 46217 | 85 | 150 | 28 | 2,21 | 90 | 80 | 3400 | 4500 | |
| 7218 AC | 46218 | 90 | 160 | 30 | 2,26 | 106 | 93 | 3200 | 4300 | |
| 7220 AC | 46220 | 100 | 180 | 34 | 3,32 | * | * | * | * | |
| 7222 AC | 46222 | 110 | 200 | 38 | 4,62 | * | * | * | * | |
| 7224 AC | 46224 | 120 | 215 | 40 | 5,48 | * | * | * | * | |
| 7230 AC | 46230 | 150 | 270 | 45 | 9,7 | * | * | * | * | |
| 7234 AC | 46234 | 170 | 310 | 52 | 19,3 | 303 | 300 | 1800 | 2600 | |
| 7303 AC | 46303 | 17 | 47 | 14 | 0,12 | * | * | * | * | |
| 7304 AC | 46304 | 20 | 52 | 15 | 0,16 | * | * | * | * | |
| 7305 AC | 46305 | 25 | 62 | 17 | 0,25 | * | * | * | * | |
| 7306 AC | 46306 | 30 | 72 | 19 | 0,38 | * | * | * | * | |
| 7307 AC | 46307 | 35 | 80 | 21 | 0,51 | 27 | 18 | 8000 | 11000 | |
| 7308 AC | 46308 | 40 | 90 | 23 | 0,7 | 32 | 23 | 7000 | 9500 | |
| 7309 AC | 46309 | 45 | 100 | 25 | 0,93 | 60 | 40 | 5600 | 7500 | |
| 7310 AC | 46310 | 50 | 110 | 27 | 1,2 | * | * | * | * | |
| 7311 AC | 46311 | 55 | 120 | 29 | 1,55 | * | * | * | * | |
| 7312 AC | 46312 | 60 | 130 | 31 | 1,94 | * | * | * | * | |
| 7313 AC | 46313 | 65 | 140 | 33 | 2,38 | * | * | * | * | |
| 7314 AC | 46314 | 70 | 150 | 35 | 2,89 | * | * | * | * | |
| 7315 AC | 46315 | 75 | 160 | 37 | 3,47 | * | * | * | * | |
| 7316 AC | 46316 | 80 | 170 | 39 | 4,12 | 161 | 116 | 3200 | * | |
| 7317 AC | 46317 | 85 | 180 | 41 | 4,84 | * | * | * | * | |
| 7318 AC | 46318 | 90 | 190 | 43 | 5,65 | * | * | * | * | |
| 7319 AC | 46319 | 95 | 200 | 45 | 6,25 | * | * | * | * | |
| 7320 AC | 46320 | 100 | 215 | 47 | 8,04 | * | * | * | * | |
| 7324 AC | 46324 | 120 | 260 | 55 | 13,7 | * | * | * | * | |
| 7330 AC | 46330 | 150 | 320 | 65 | 24,4 | 325 | 390 | 1700 | 2400 | |
| 7416 AC | 46416 | 80 | 200 | 48 | 7,25 | * | * | * | * | |
| 7418 AC | 46418 | 90 | 190 | 43 | 12 | 208 | 162 | 2600 | 3600 | |
|
Oznaczenie |
Wymiary |
Waga |
Wartości obciążenia |
Wartości graniczne prędkości obrotowej (obr/min) |
|||||
|
BBC-R |
GOST |
d |
D |
B |
kg |
Dynamiczna |
Statyczna |
W smarze |
W oleju |
| 3201 | 3056201 | 12 | 32 | 15,9 | 0,05 | 10 | 5 | 16800 | 19800 |
| 3202 | 3056202 | 15 | 35 | 15,9 | 0,06 | 12 | 7 | 13800 | 16200 |
| 3203 | 3056203 | 17 | 40 | 17,5 | 0,1 | 14 | 9 | 12200 | 14400 |
| 3204 | 3056204 | 20 | 47 | 20,6 | 0,17 | 20 | 12 | 10700 | 12600 |
| 3205 | 3056205 | 25 | 52 | 20,6 | 0,19 | 21 | 14 | 9200 | 10800 |
| 3206 | 3056206 | 30 | 62 | 23,8 | 0,31 | 29 | 20 | 7700 | 9000 |
| 3207 | 3056207 | 35 | 72 | 27 | 0,48 | 39 | 27 | 6900 | 8100 |
| 3208 | 3056208 | 40 | 80 | 30,2 | 0,65 | 47 | 33 | 6100 | 7200 |
| 3209 | 3056209 | 45 | 85 | 30,2 | 0,7 | 50 | 38 | 5700 | 6800 |
| 3210 | 3056210 | 50 | 90 | 30,2 | 0,74 | 50 | 38 | 5400 | 6300 |
| 3211 | 3056211 | 55 | 100 | 33,3 | 1,05 | 59 | 47 | 4800 | 5700 |
| 3212 | 3056212 | 60 | 110 | 36,5 | 1,36 | 72 | 57 | 4300 | 5000 |
| 3213 | 3056213 | 65 | 120 | 38,1 | 1,76 | 79 | 72 | 3700 | 4300 |
| 3214 | 3056214 | 70 | 125 | 39,7 | 1,93 | 87 | 78 | 3400 | 4100 |
| 3215 | 3056215 | 75 | 130 | 41,3 | 2,08 | 94 | 86 | 3400 | 4100 |
| 3216 | 3056216 | 80 | 140 | 44,4 | 2,64 | 104 | 93 | 3300 | 3900 |
| 3217 | 3056217 | 85 | 150 | 49,2 | 3,39 | 122 | 108 | 2900 | 3400 |
| 3218 | 3056218 | 90 | 160 | 52,4 | 4,14 | 127 | 118 | 2800 | 3200 |
| 3219 | 3056219 | 95 | 170 | 55,6 | 5 | 156 | 143 | 2600 | 3100 |
| 3220 | 3056220 | 100 | 180 | 60,3 | 5,4 | 157 | 173 | 2300 | 2800 |
| 3222 | 3056222 | 110 | 200 | 69,8 | 8,79 | 208 | 208 | 2100 | 2500 |
| 3301 | 3056301 | 12 | 37 | 19 | 0,09 | * | * | * | * |
| 3302 | 3056302 | 15 | 42 | 19 | 0,13 | * | * | * | * |
| 3303 | 3056303 | 17 | 47 | 22,2 | 0,19 | 21 | 12 | 10700 | 12600 |
| 3304 | 3056304 | 20 | 52 | 22,2 | 0,23 | 23 | 14 | 9900 | 11700 |
| 3305 | 3056305 | 25 | 62 | 25,4 | 0,37 | 31 | 20 | 8400 | 9900 |
| 3306 | 3056306 | 30 | 72 | 30,2 | 0,58 | 41 | 27 | 6900 | 8100 |
| 3307 | 3056307 | 35 | 80 | 34,9 | 0,78 | 51 | 35 | 6500 | 7700 |
| 3308 | 3056308 | 40 | 90 | 36,5 | 1,05 | 63 | 43 | 5700 | 6800 |
| 3309 | 3056309 | 45 | 100 | 39,7 | 1,41 | 74 | 52 | 5100 | 6000 |
| 3310 | 3056310 | 50 | 110 | 44,4 | 1,9 | 88 | 63 | 4600 | 5400 |
| 3311 | 3056311 | 55 | 120 | 49,2 | 2,48 | 110 | 80 | 4100 | 4800 |
| 3312 | 3056312 | 60 | 130 | 54 | 3,17 | 125 | 93 | 3800 | 4500 |
| 3313 | 3086313 | 65 | 140 | 58,7 | 3,9 | 143 | 108 | 3400 | 4100 |
| 3314 | 3056314 | 70 | 150 | 63,5 | 5,04 | 160 | 123 | 3300 | 3900 |
| 3315 | 3056315 | 75 | 160 | 68,3 | 6,16 | 173 | 137 | 3100 | 3600 |
| 3316 | 3056316 | 80 | 170 | 68,3 | 6,93 | 178 | 153 | 2800 | 3200 |
| 3317 | 3056317 | 85 | 180 | 73 | 8,3 | 191 | 172 | 2600 | 3100 |
| 3318 | 3056318 | 90 | 190 | 73 | 9,23 | 191 | 176 | 2400 | 2900 |
| 3319 | 3056319 | 95 | 200 | 77,8 | 11,4 | 221 | 212 | 2300 | 2700 |
| 3320 | 3056320 | 100 | 215 | 82,6 | 14,2 | 157 | 173 | 2300 | 2800 |
| 3321 | 3056321 | 105 | 225 | 87,3 | 16,4 | 252 | 290 | 2300 | 2700 |
| 3322 | 3056322 | 110 | 240 | 92,1 | 19,9 | 208 | 208 | 2100 | 2500 |
|
Oznaczenie |
Wymiary |
Waga |
Wartości obciążenia |
Wartości graniczne prędkości obrotowej (obr/min) |
||||||||
|
BBC-R |
GOST |
d |
D |
B |
kg |
Dynamiczna |
Statyczna |
W smarze |
W oleju |
|||
| 256907 | 256907 | 34 | 64 | 37 | 0,44 | * | * | * | * | |||
More than 200 units of modern high-precision equipment have been installed in production workshops.
The quality management system extends to the development, production and supply of bearing products to consumers.
An integrated system for the efficient use of vehicles and warehouses ensures maximum delivery speed.
The company employees have a great experience in the bearing industry. Many of them worked in the leading bearing companies.
Each batch of components for the production of bearings passes input control according to the drawings.
The company is trying to minimize its impact on the environment and the use of harmful chemicals.